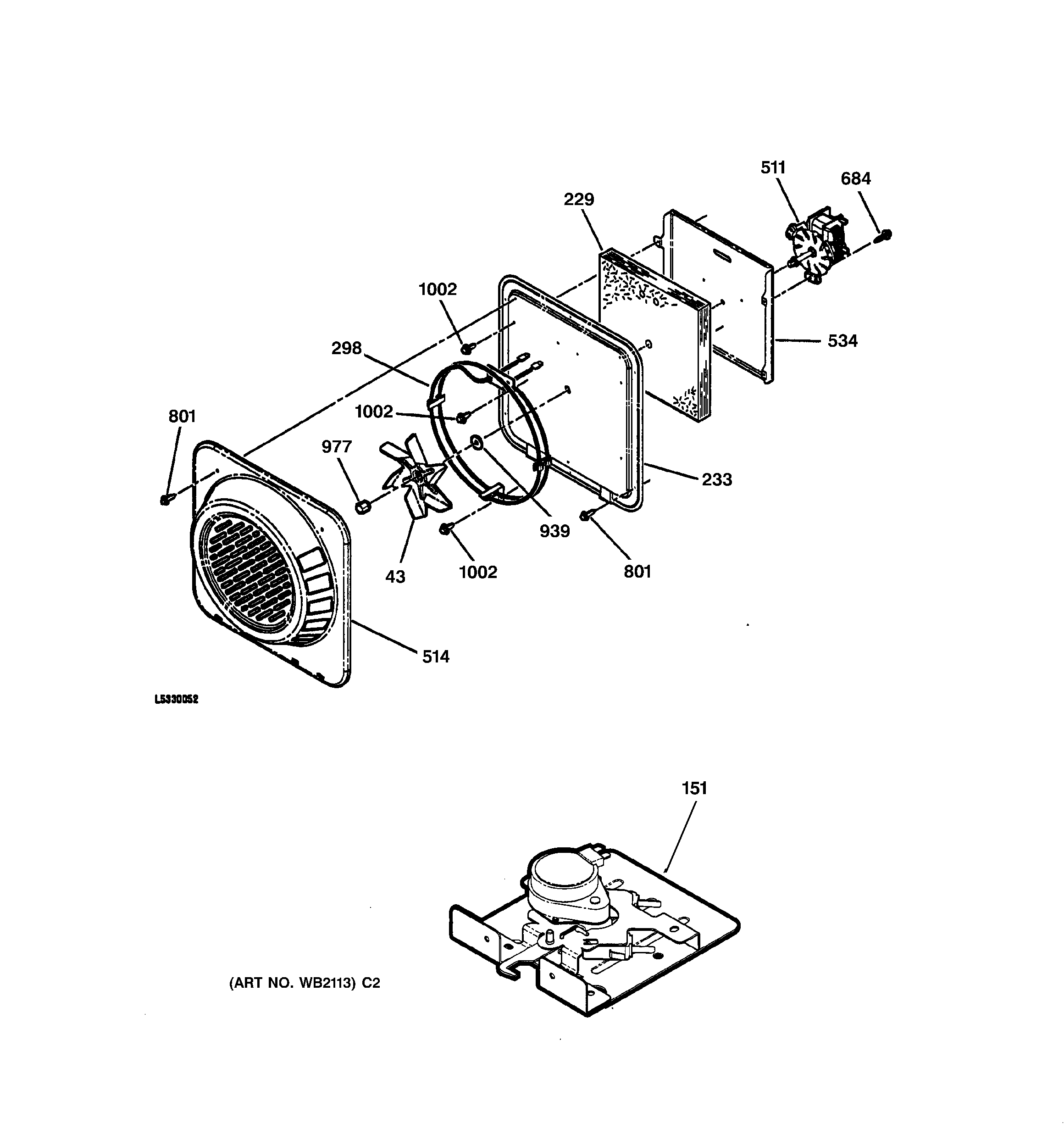
JB960TB1WW DOOR LOCK & FANadmin2025-04-26T09:54:03+00:00JB960TB1WW DOOR LOCK & FAN ProductsPositionProduct43WB02T10289 GE Oven Stirring Fan Blade151GEN WB15T10018229WB35T10017 GE Oven Vent Tube Insulation229GEN WB35T10021233GEN WB49T10005233GEN WB35T10022298WB44T10053 GE Oven Convection Element511GEN WB26T10007514GEN WB34T10019534CONVX FAN MOTOR BRACKET684GEN WB01T10047801WB1M1 GE Oven Screw939GEN WB01T10010977WB02T10017 GE Oven Nut1002WB01T10017 GE Oven 8-18 AB Screw IHW 3/8 S NS