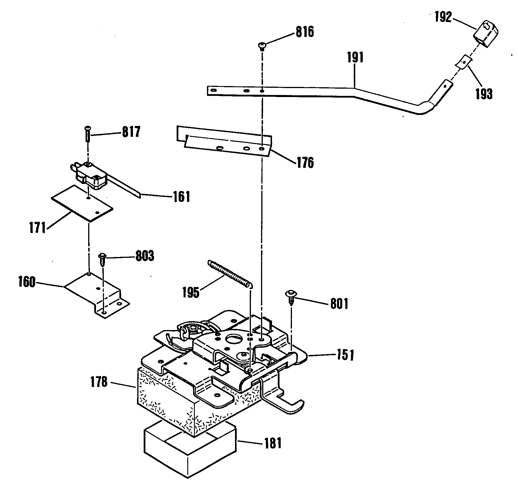
JBP29GM2 3