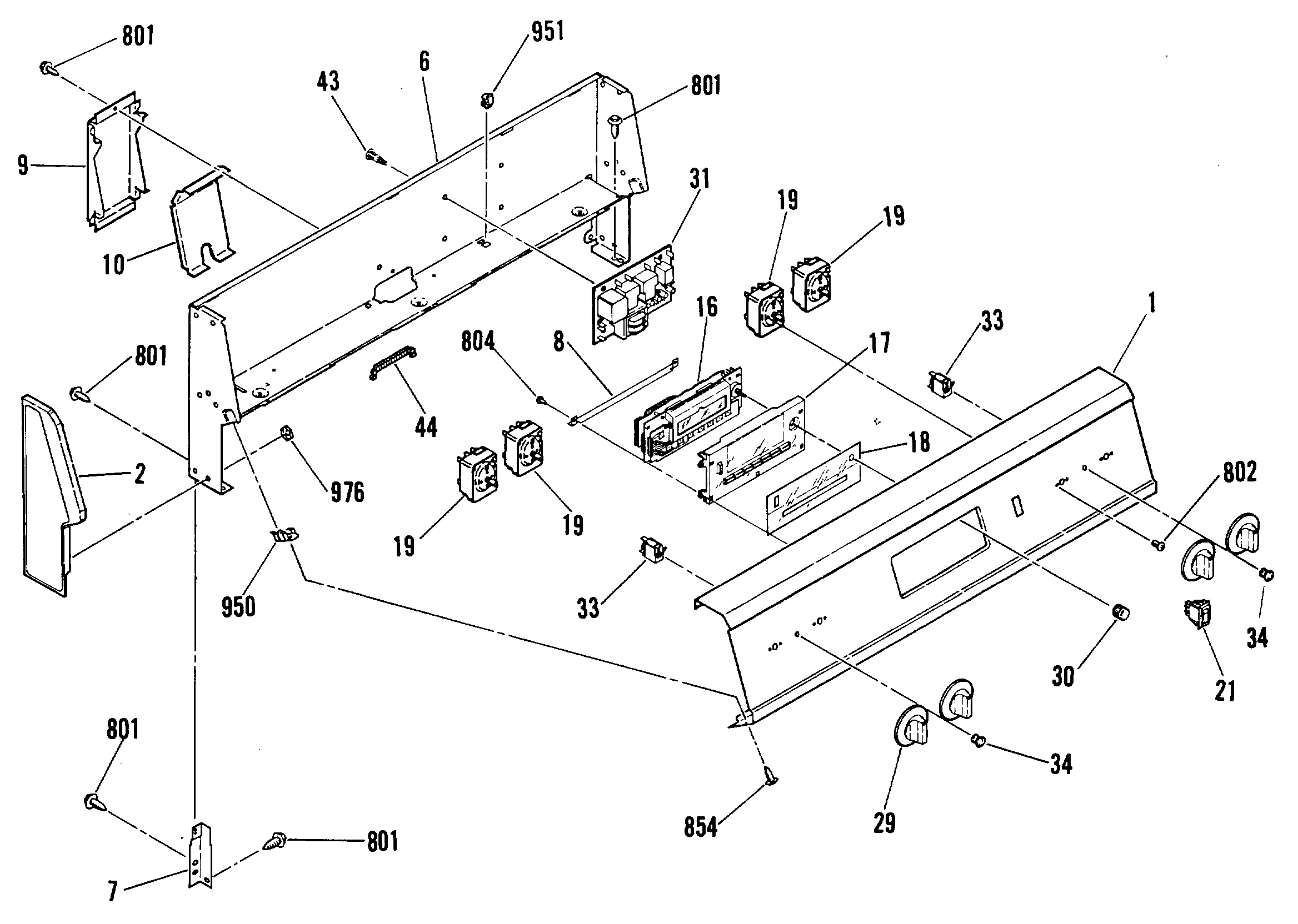
JBP29GM3 0