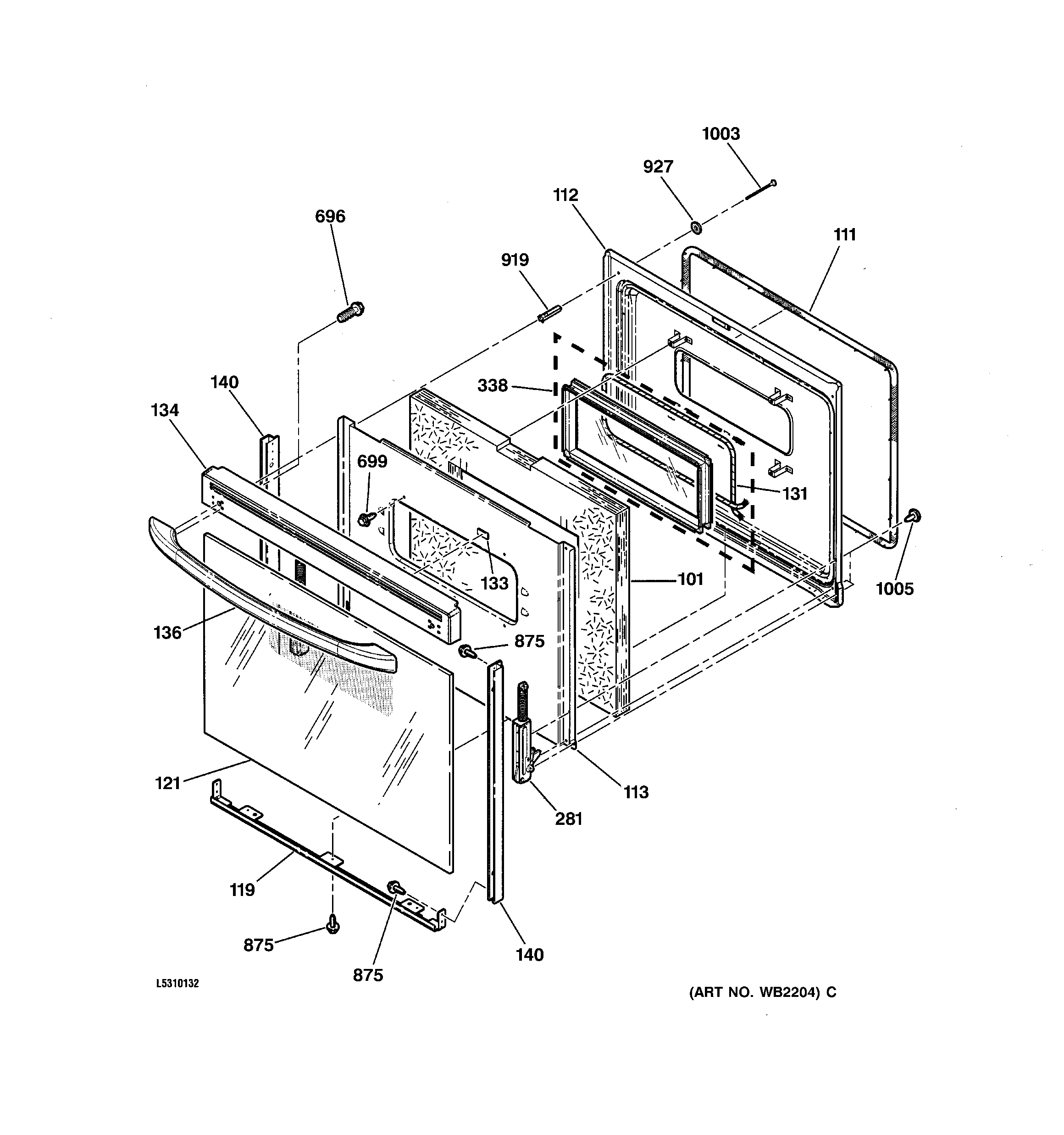
JBP65AC4AA DOOR