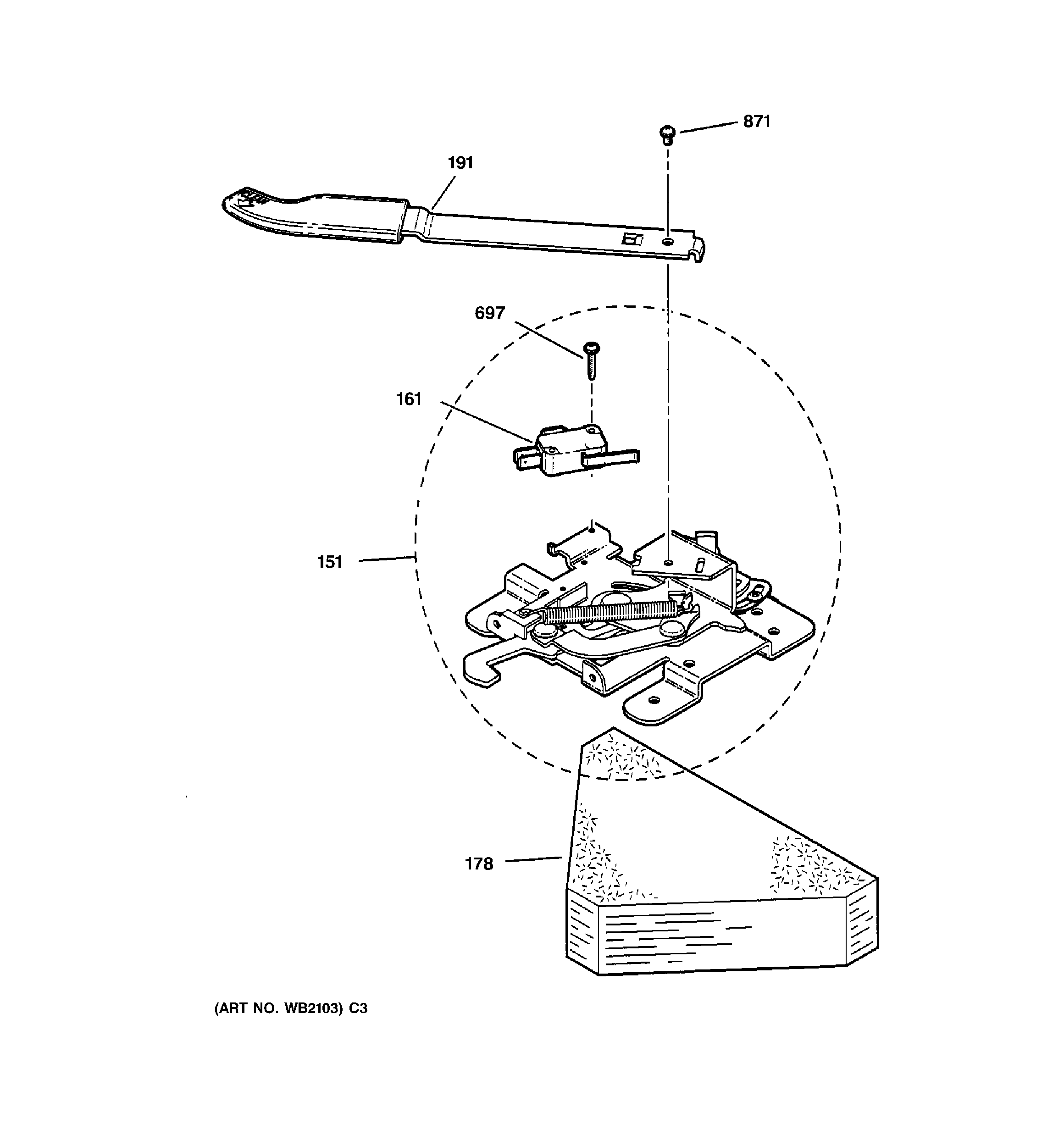
JBP66WB2WW DOOR LOCK
Products
| Position | Product |
|---|---|
| 151 | GEN WB14T10007 |
| 161 | GEN WB24T10055 |
| 178 | GEN WB35T10020 |
| 191 | GEN WB15T10037 |
| 697 | GEN WB01X1170 |
| 871 | GEN WB01M0013 |
JBP66WB2WW DOOR LOCK
| Position | Product |
|---|---|
| 151 | GEN WB14T10007 |
| 161 | GEN WB24T10055 |
| 178 | GEN WB35T10020 |
| 191 | GEN WB15T10037 |
| 697 | GEN WB01X1170 |
| 871 | GEN WB01M0013 |