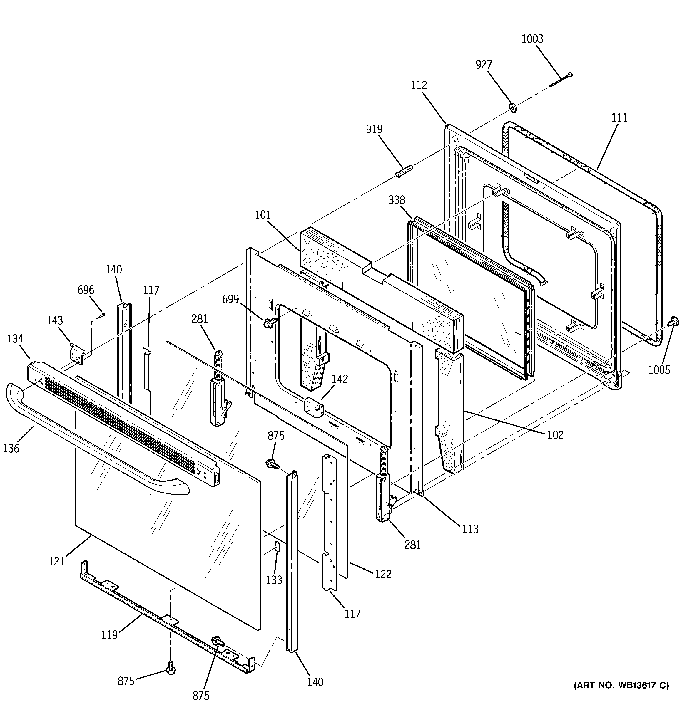
JBP71EK1BB DOOR