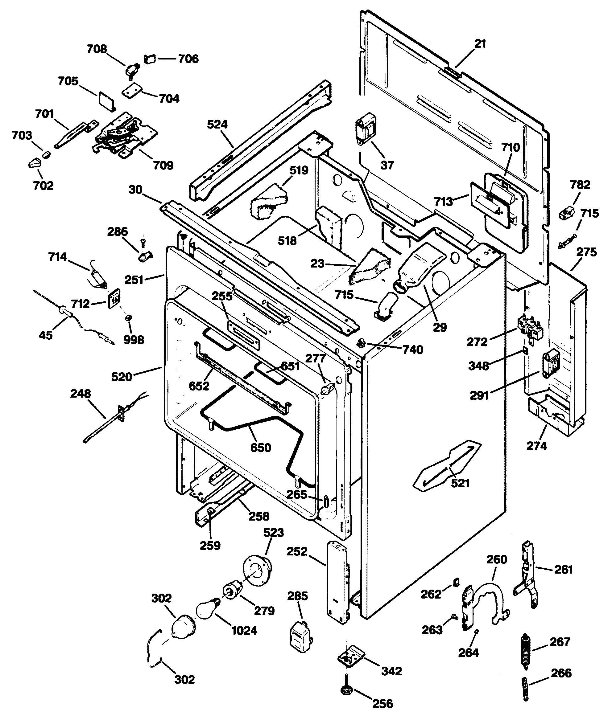
| 21 | GEN WB49X5521 |
| 23 | GEN WB02X8315 |
| 29 | GEN WB38X5066 |
| 30 | GEN WB02X8310 |
| 248 | GEN WB21X5310 |
| 251 | GEN WB56X7049 |
| 252 | GEN WB49X5565 |
| 256 | GLIDER ADJ |
| 258 | GEN WB39X0051 |
| 259 | SLIDE GUIDE |
| 260 | GEN WB10X5206 |
| 261 | GEN WB10X0149 |
| 261 | GEN WB10X0148 |
| 262 | GEN WB02X3193 |
| 263 | GEN WB02X6195 |
| 264 | RING RETAINING |
| 265 | GEN WB02X6342 |
| 266 | HOOK DOOR SPRING |
| 267 | GEN WB09X5117 |
| 274 | GEN WB02X8247 |
| 275 | GEN WB02X8249 |
| 277 | SWITCH, OVEN LIGHT |
| 279 | WB08T10026 GE Range Push-In Receptacle |
| 285 | GEN WB02X8106 |
| 286 | GEN WB02X8107 |
| 302 | GEN WB02X7694 |
| 342 | GEN WB02X8241 |
| 348 | PLATE GROUND |
| 518 | GEN WB02X8412 |
| 520 | GEN WB53X5157 |
| 521 | GEN WB09X5118 |
| 523 | GEN WB02X7693 |
| 650 | BAKE ELEMENT SELF CLEAN |
| 651 | WB44X173 GE Range Broil Element |
| 652 | SUPPORT BROIL |
| 701 | GEN WB15X5198 |
| 702 | GEN WB03X5774 |
| 703 | RETAINER KNOB |
| 705 | GEN WB02X8314 |
| 706 | GEN WB02X8222 |
| 708 | GEN WB24X5326 |
| 709 | GEN WB14X5043 |
| 710 | GEN WB38X5065 |
| 710 | GEN WB38X5064 |
| 713 | GEN WB02X8311 |
| 715 | GEN WB02X8323 |
| 715 | GEN WB38X5067 |
| 740 | CLIP WIRE BLACK |
| 782 | WB17X5060 GE Oven Block Assembly |
| 1024 | RANGE ONLY 40W 120V APPL BULB |