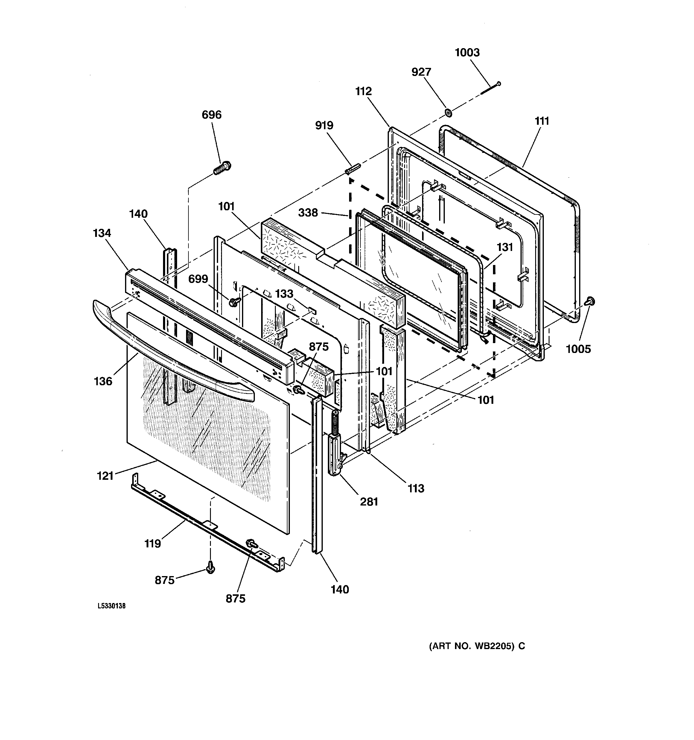
JBP78BB4BB DOOR