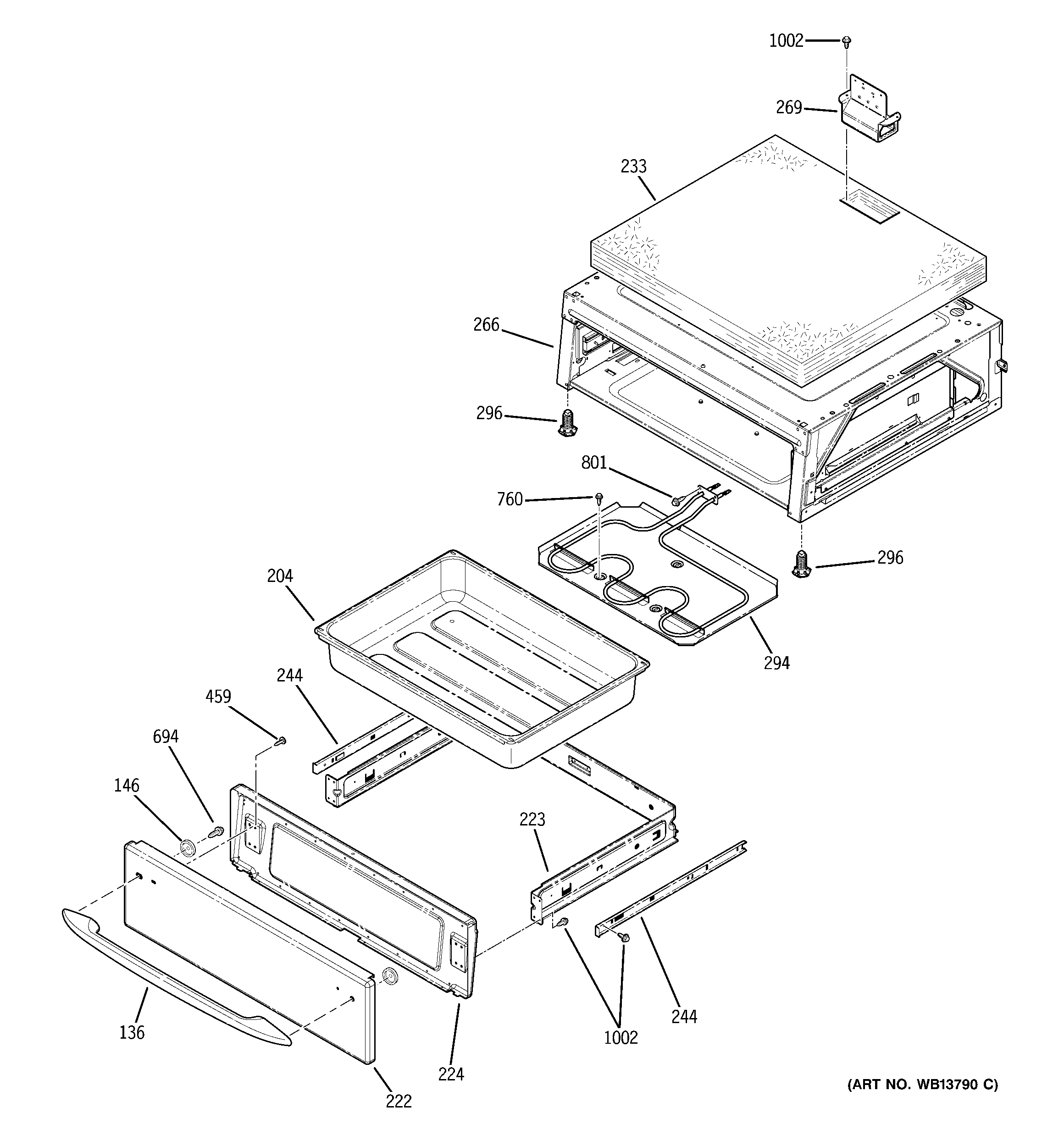
JBP84TK1WW WARMING DRAWER