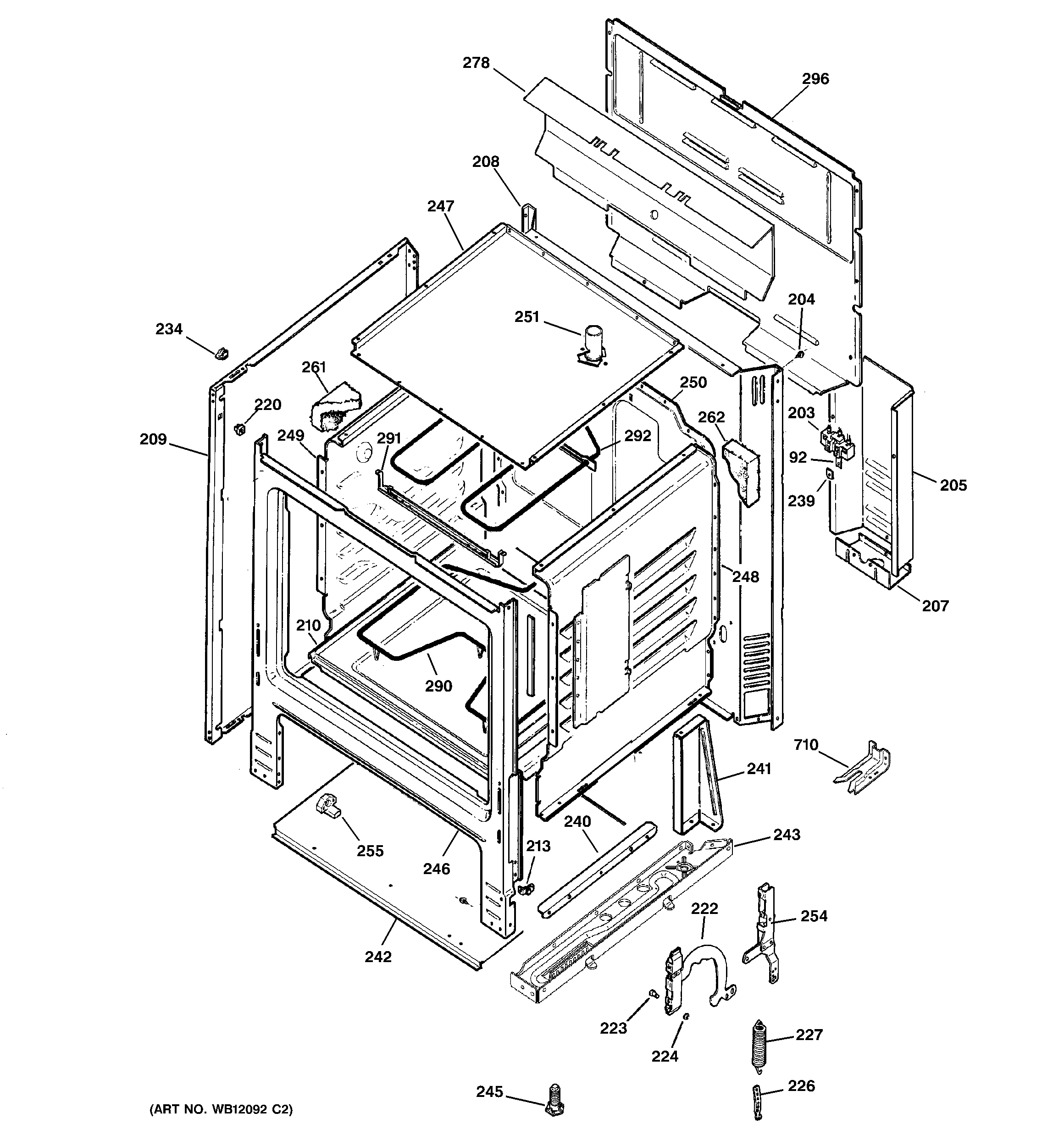
JBS03C3AD BODY PARTS