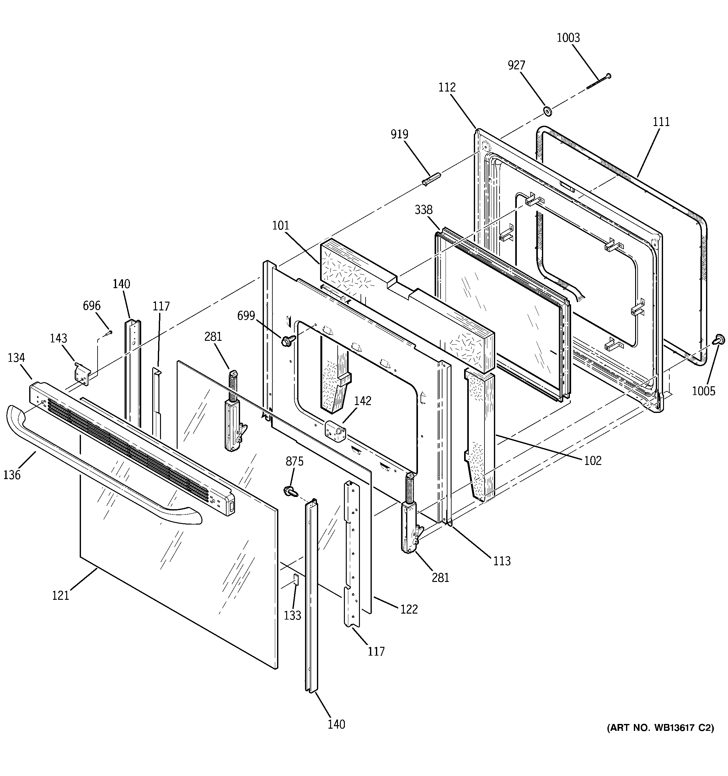
JCBP66WK4WW DOOR