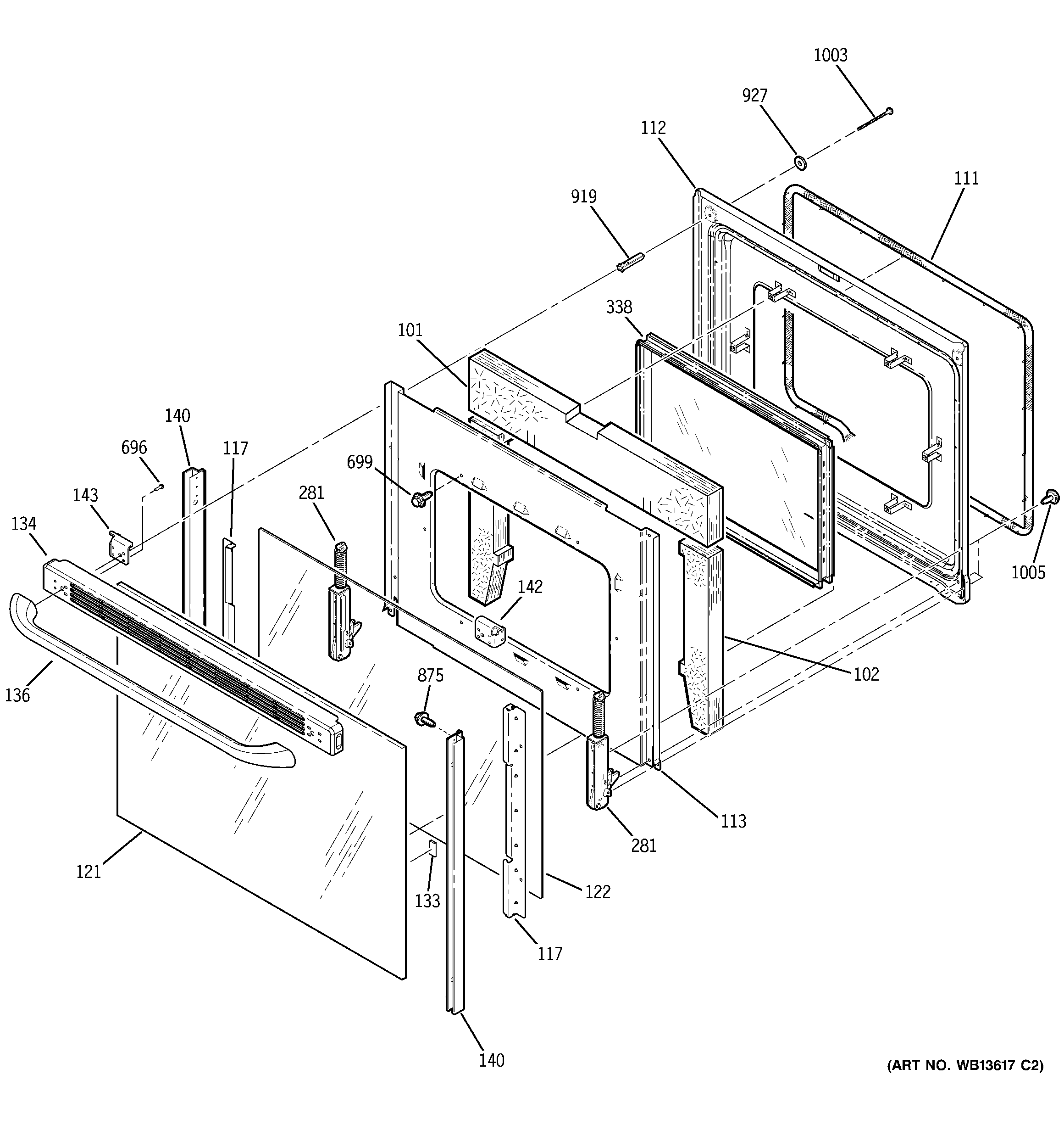
JCBP68HK3WW DOOR