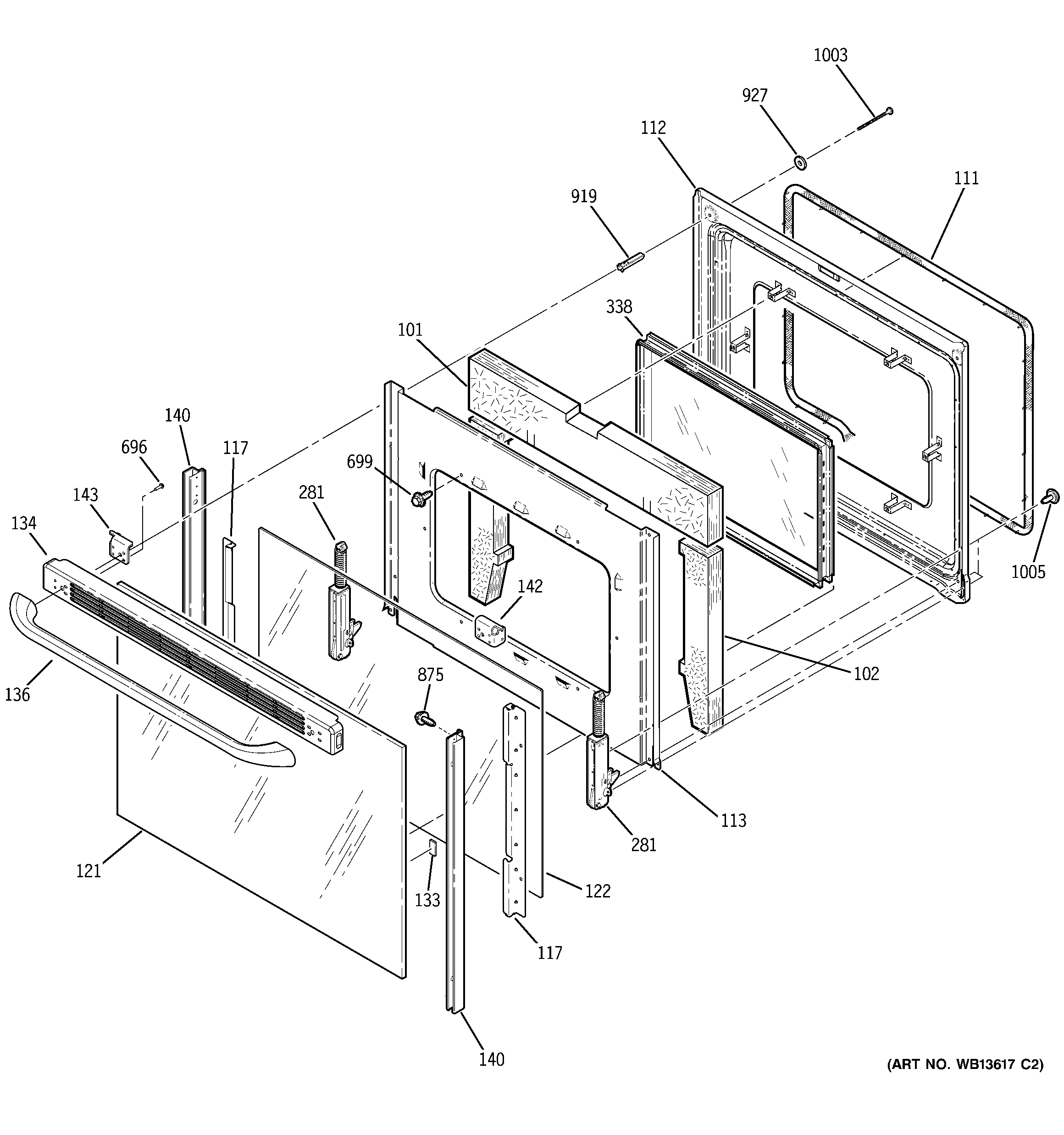
JCBP70DM2BB DOOR