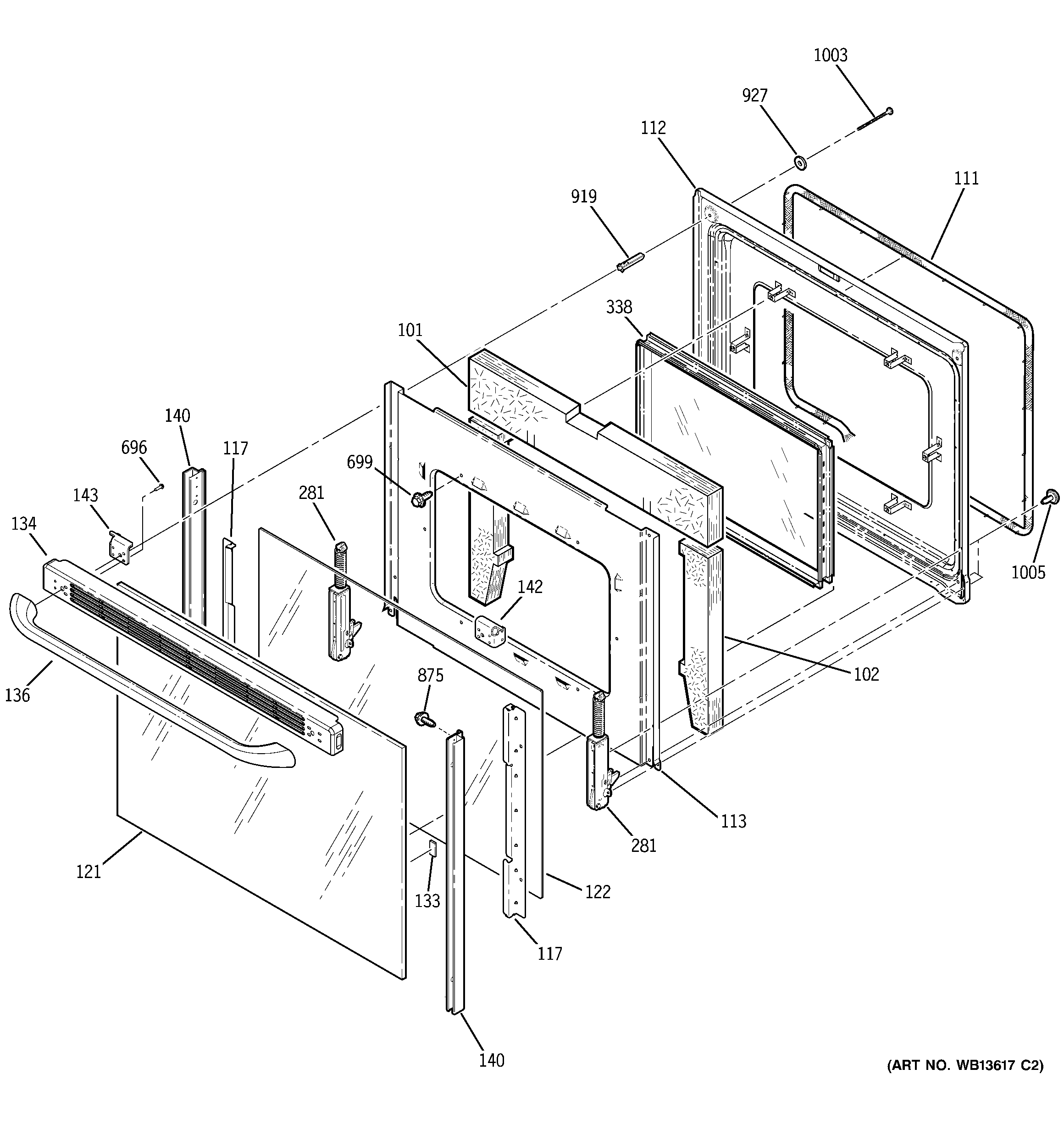
JCBP78WK1WW DOOR