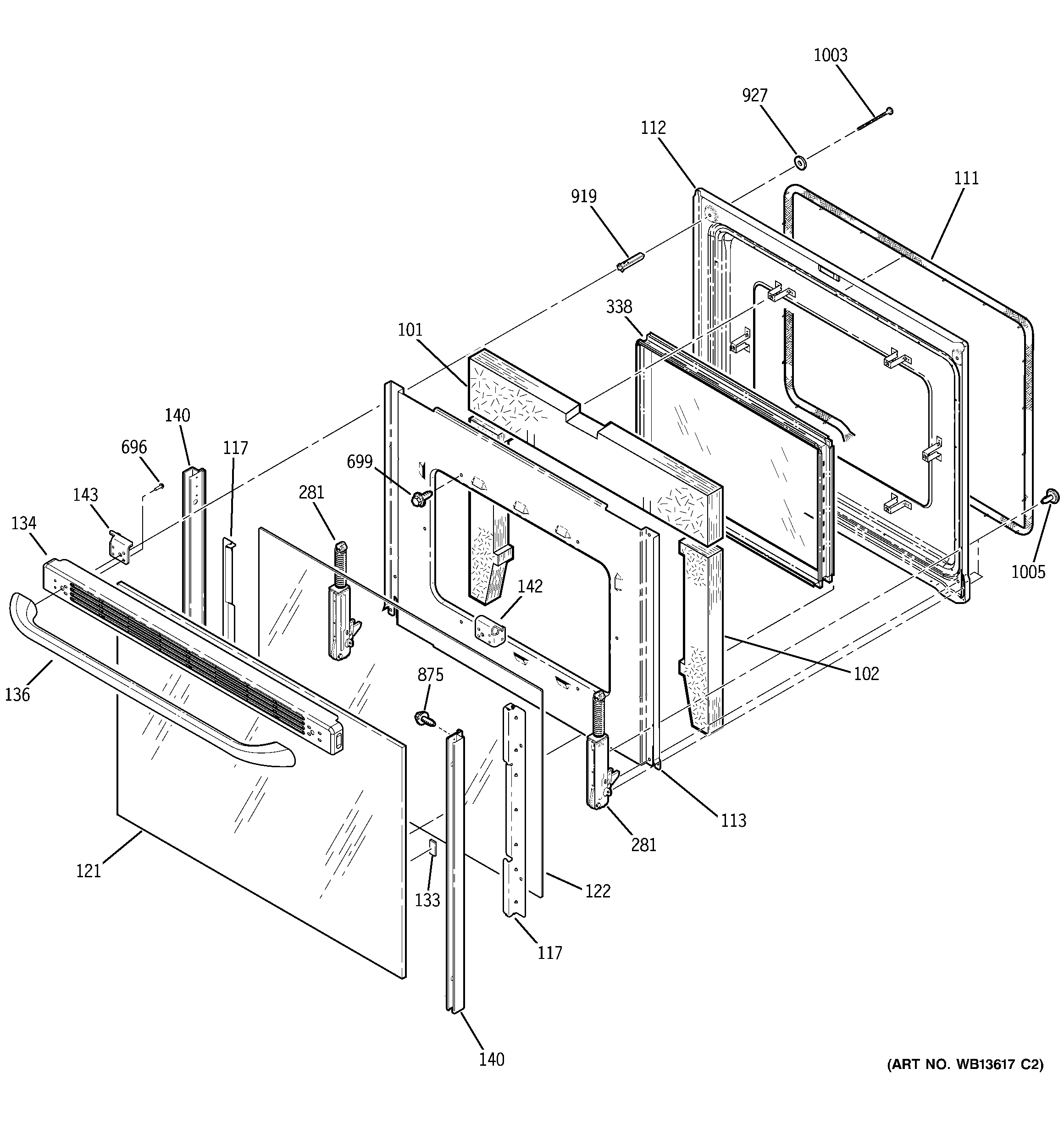
JCBP80WK3WW DOOR