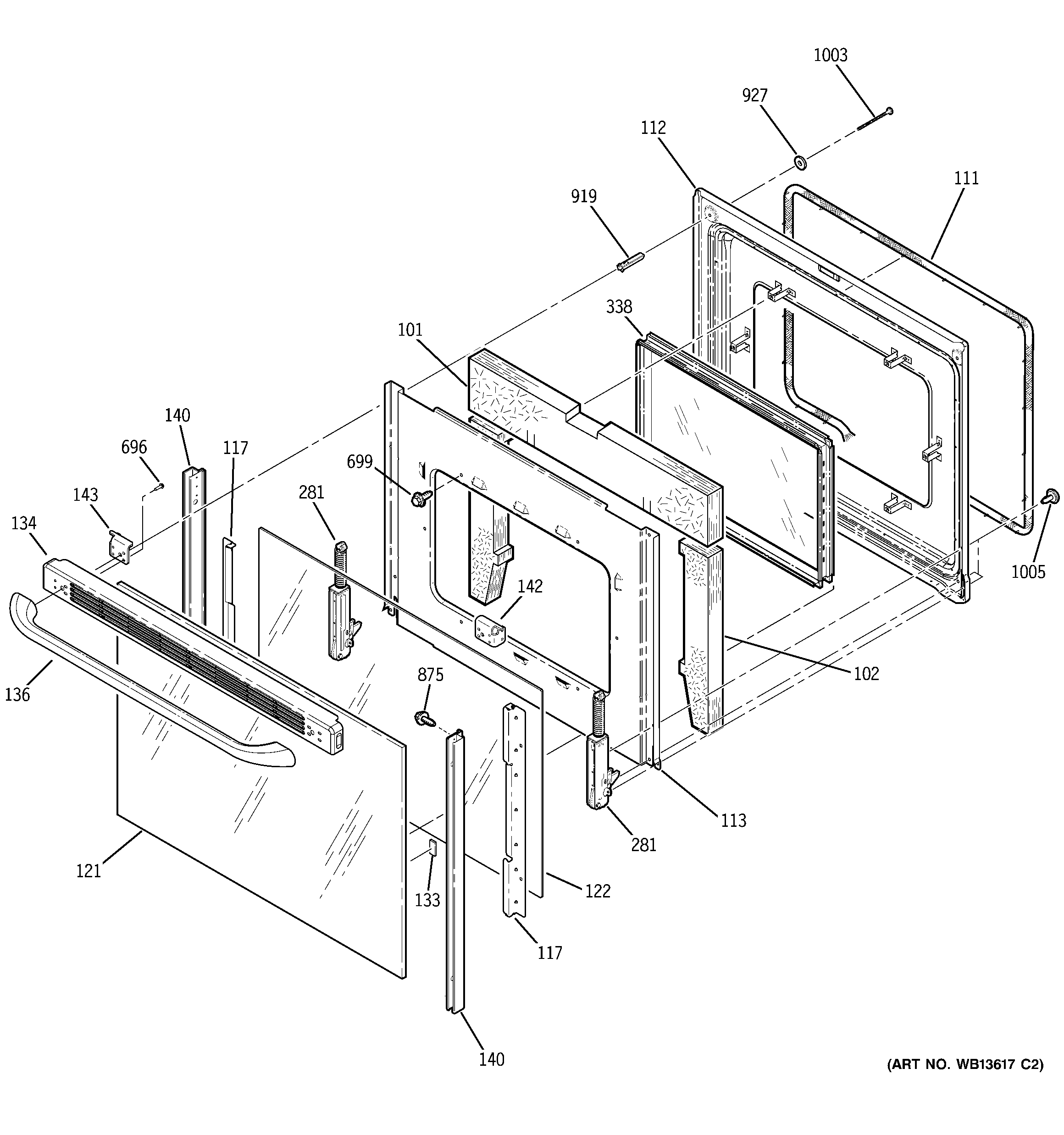
JCBP81DM2BB DOOR