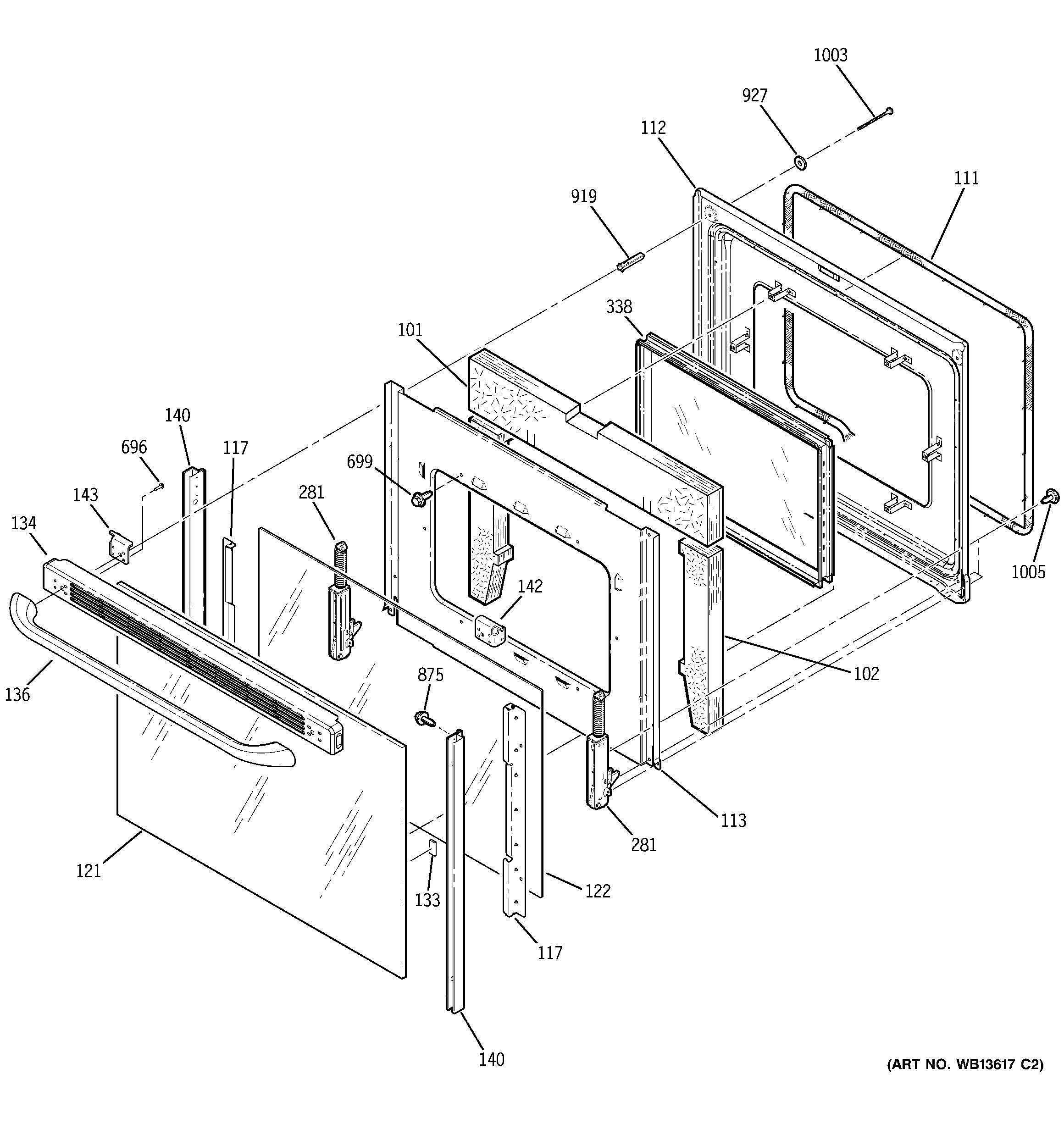
JCBP81WK1WW DOOR