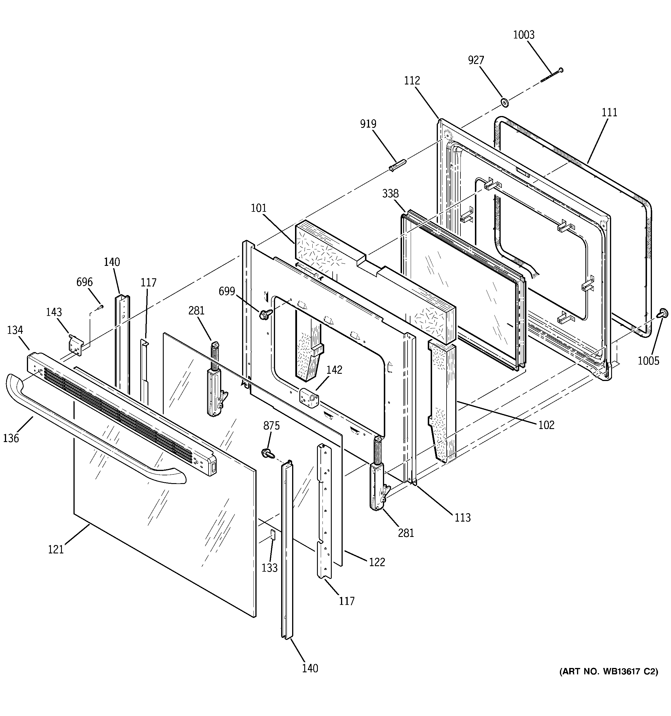
| 101 | WB35T10134 GE Oven Door Insulation |
| 102 | WB35T10135 GE Oven Door Insulation |
| 111 | WB04T10022 GE Oven Door Gasket Seal |
| 112 | GEN WB55T10153 |
| 113 | WB56T10178 GE Oven Door Insulation Retainer |
| 117 | WB56T10373 GE Oven Door Retainer Kit |
| 121 | WB56T10187 GE Oven Outer Door Panel White |
| 122 | WB57T10233 GE Oven Inner Door Glass |
| 133 | WB01T10052 GE Oven Foam Tape |
| 133 | WB01T10026 GE Oven Door Pad |
| 134 | WB07X27236 GE Oven Vent Door Trim (White) |
| 136 | HANDLE |
| 140 | DOOR FRAME |
| 142 | WB34X42027 GE Right Hand Door Trim Bracket |
| 143 | WB34X42670 GE Left Hand Door Handle Bracket |
| 281 | WB10T10067 GE Oven Door Hinge |
| 338 | WB56T10105 GE Oven Inner Window Assembly |
| 696 | WB1K5156 GE Oven Screw |
| 699 | WB1M1 GE Oven Screw |
| 875 | WZ4X245D GE Screw Package |
| 875 | WH2X930 GE Screw |
| 919 | SPACER |
| 927 | WB1X119D GE Oven Range Washer |
| 1003 | WB01T10067 GE Oven Screw 10-16 PL PNT |
| 1005 | WB01T10008 GE Oven Screw 10-32 |