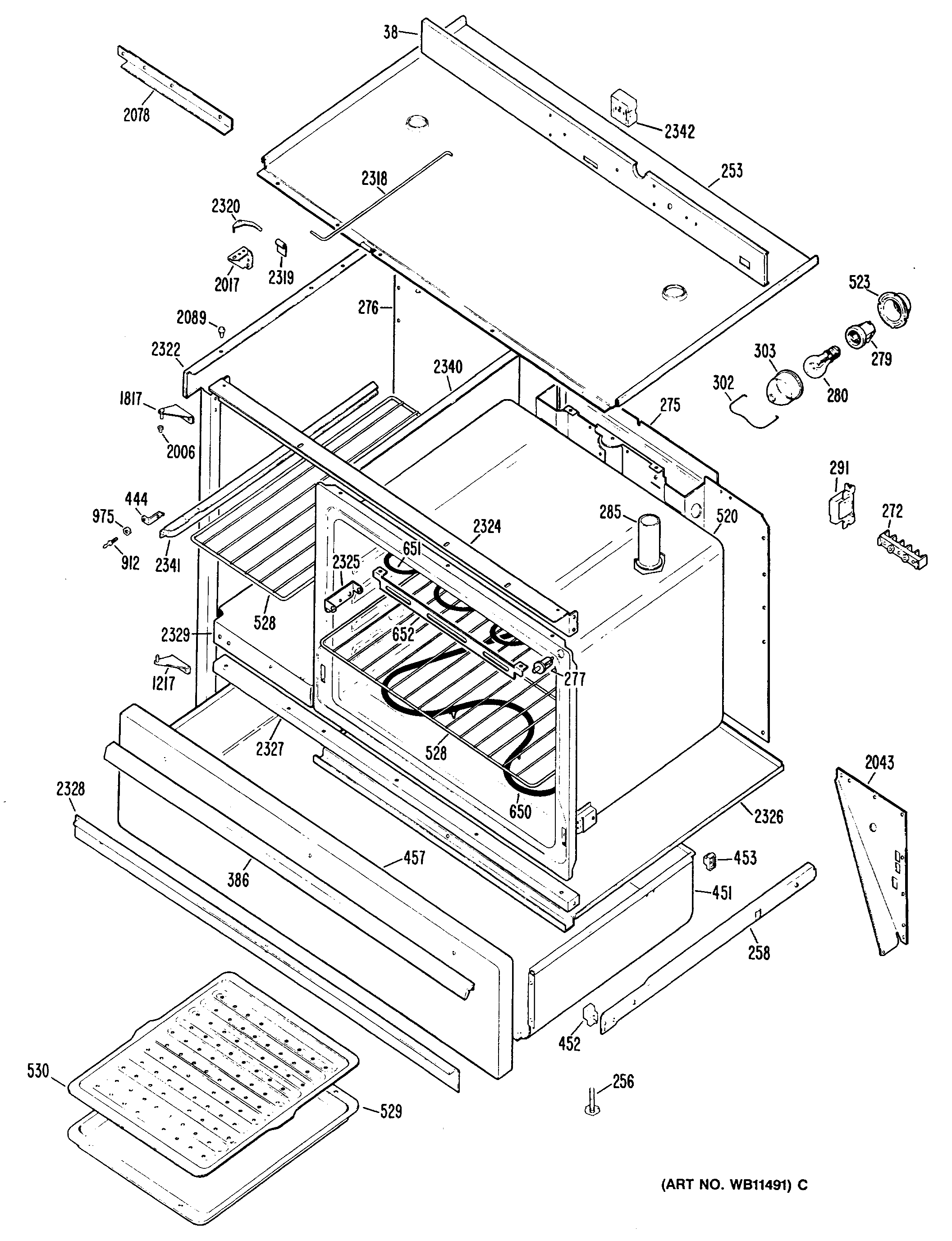
JCS57H5 1