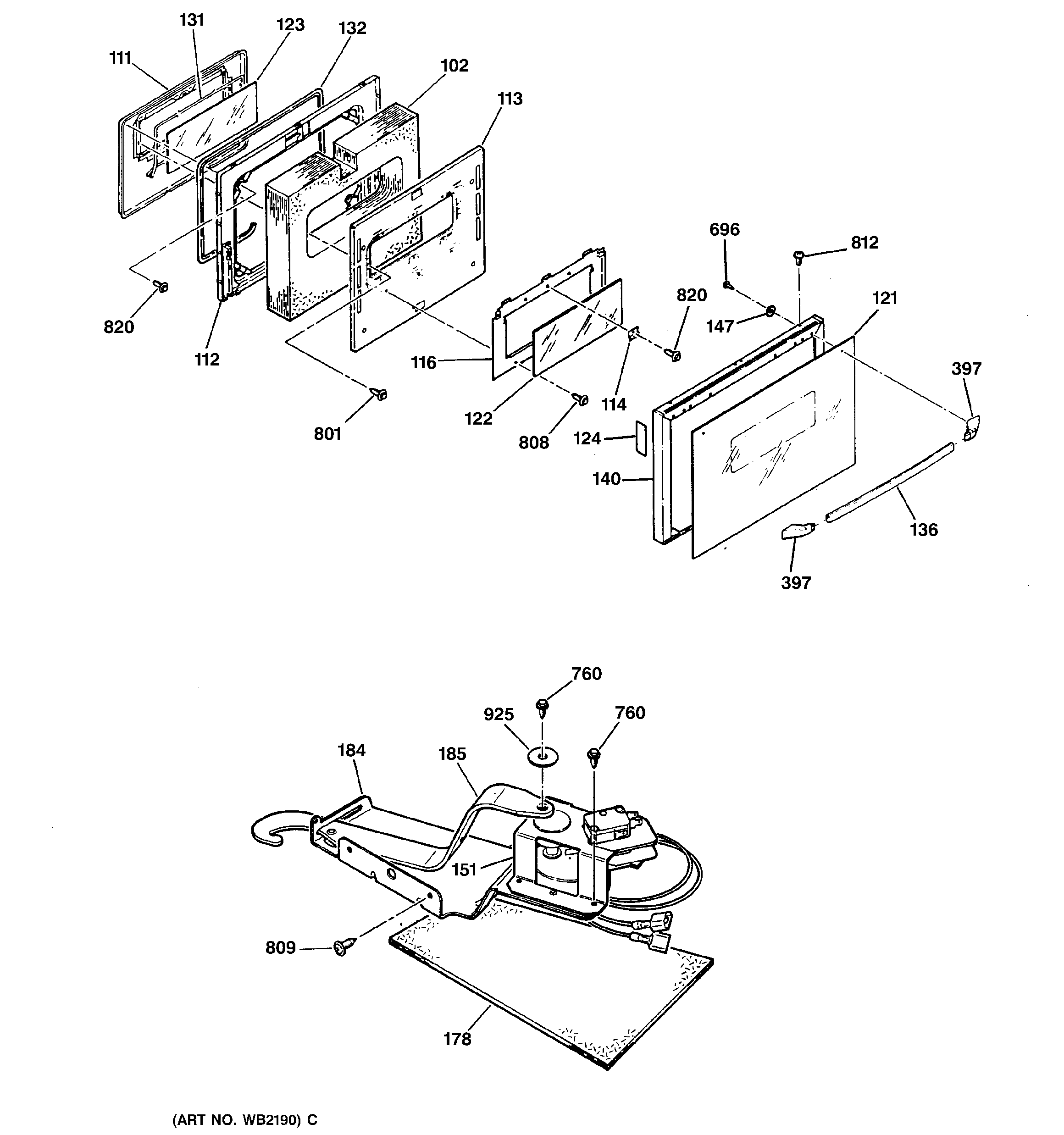
JCSP28GT2BB DOOR & DOOR LOCKadmin2025-04-26T08:47:57+00:00JCSP28GT2BB DOOR & DOOR LOCK ProductsPositionProduct102OVEN DOOR INSULATION111GEN WB55K5037112GEN WB55K5038113INSULATION RETAINER114GEN WB02M0001116GEN WB02X9178121GLASS OVN DR OUTER122GEN WB57K5141123CENTER GLASS124GEN WB35K5103131WB2X9168 GE Oven Seal132WB2K5319 GE Oven Door Gasket136WB15T10030 GE Oven Handle Assembly140GEN WB55K5054147GEN WB02K5312151GEN WB26K5036178UNKNOWN184WB34K5228 GE Oven Door Lock Plate185WB15K5016 GE Oven Lock Lever Assembly397WB7X7183 GE Oven Black Handle Endcap696WB1K5156 GE Oven Screw696WB1X5731D GE Oven Nut Package of 12760WB1X536 GE Oven Screw801WB1M1 GE Oven Screw808WB1X1116 GE Oven Screw809WB1X1137 GE Oven Screw812WB1K5191 GE Oven Zinc FL Screw820WB1X1424D GE Oven Screw Package925WB1K5117 GE Oven Washer