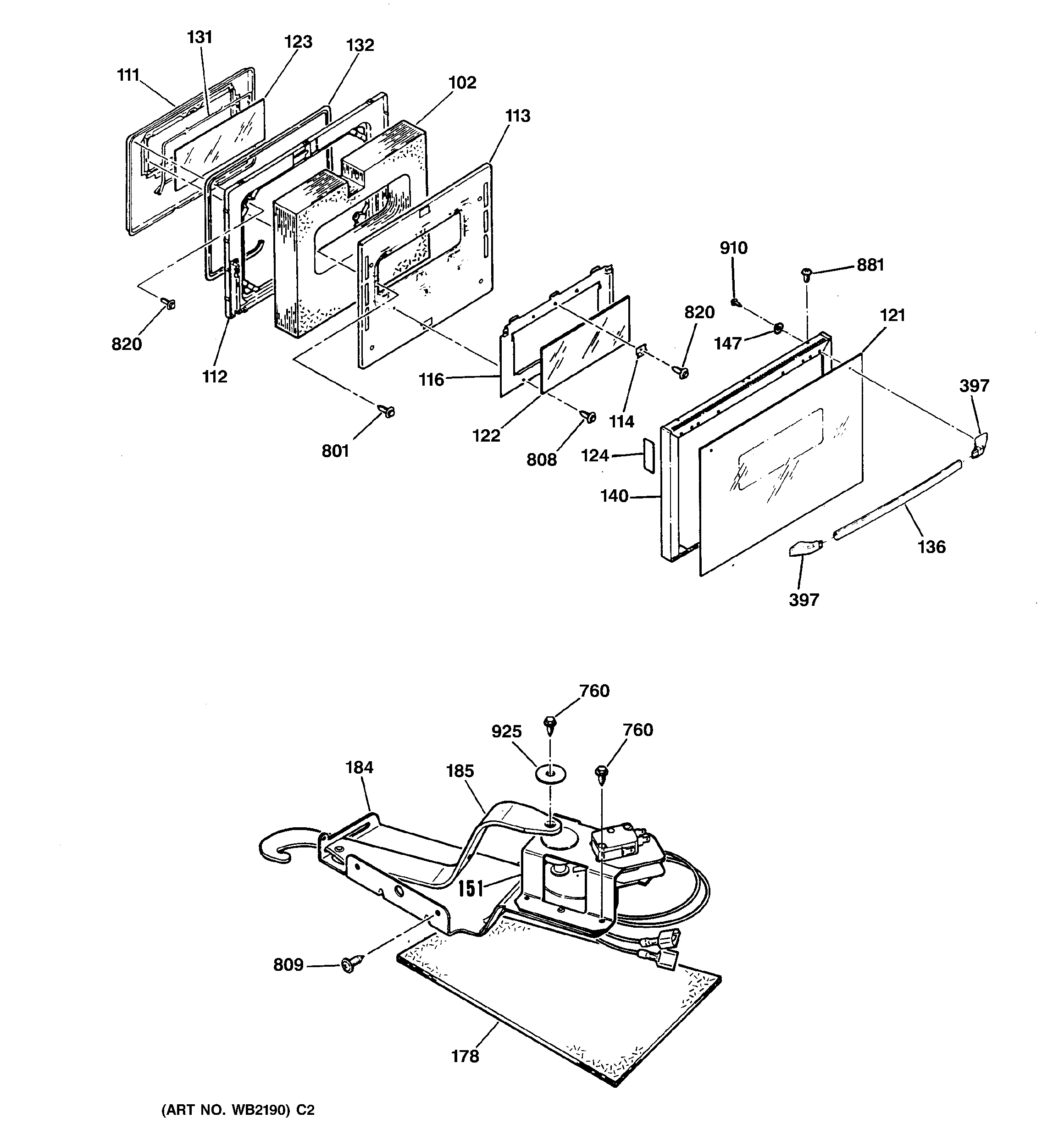
JCSP31WT1WW DOOR & DOOR LOCKadmin2025-04-26T08:48:18+00:00JCSP31WT1WW DOOR & DOOR LOCK ProductsPositionProduct102OVEN DOOR INSULATION111GEN WB55K5037112GEN WB55K5038113INSULATION RETAINER114GEN WB02M0001116GEN WB02X9178121GEN WB57K5234122GEN WB57K5141123CENTER GLASS124GEN WB35K5104131WB2X9168 GE Oven Seal132WB2K5319 GE Oven Door Gasket136GEN WB15T10031140GEN WB55K5055140GEN WB56M0006147GEN WB02K5312178UNKNOWN184WB34K5228 GE Oven Door Lock Plate185WB15K5016 GE Oven Lock Lever Assembly397GEN WB07K5319760WB1X536 GE Oven Screw801WB1M1 GE Oven Screw808WB1X1116 GE Oven Screw809WB1X1137 GE Oven Screw820WB1X1424D GE Oven Screw Package925WB1K5117 GE Oven Washer