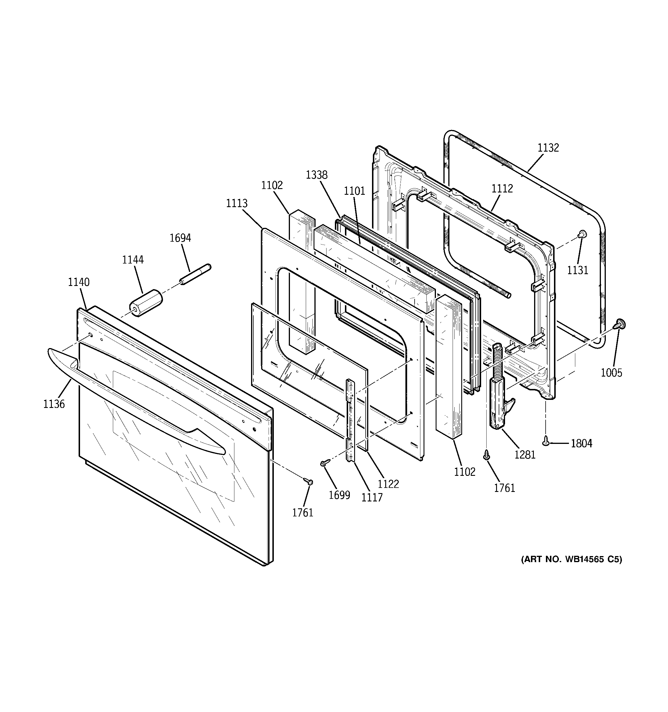
JCSP42DN1BB DOOR