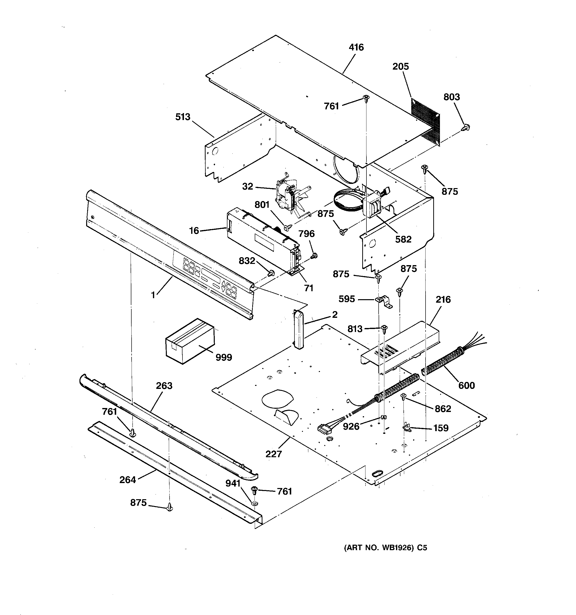
JCTP17WV3WW CONTROL PANEL