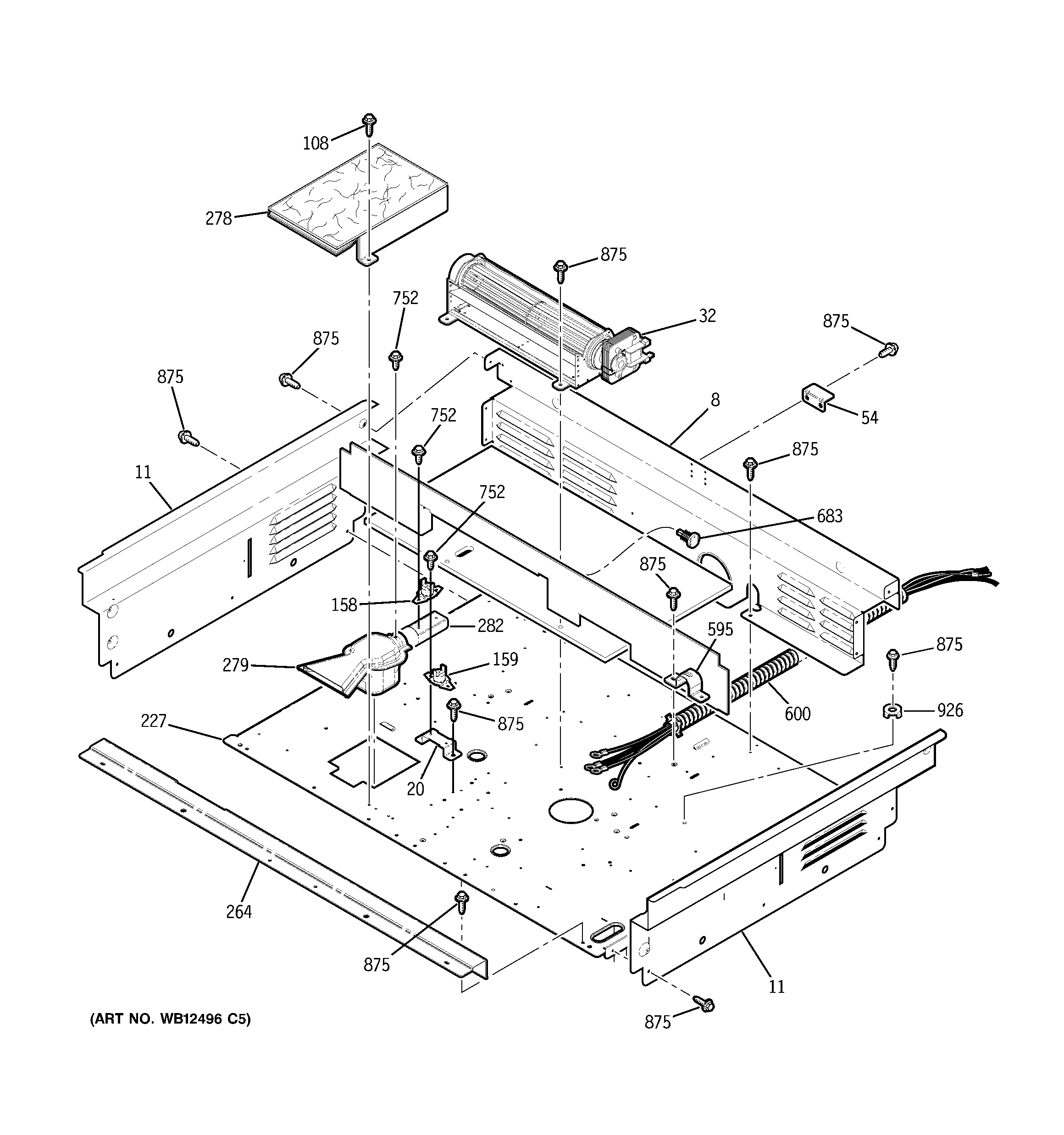
JD900CK2CC COOLING FAN