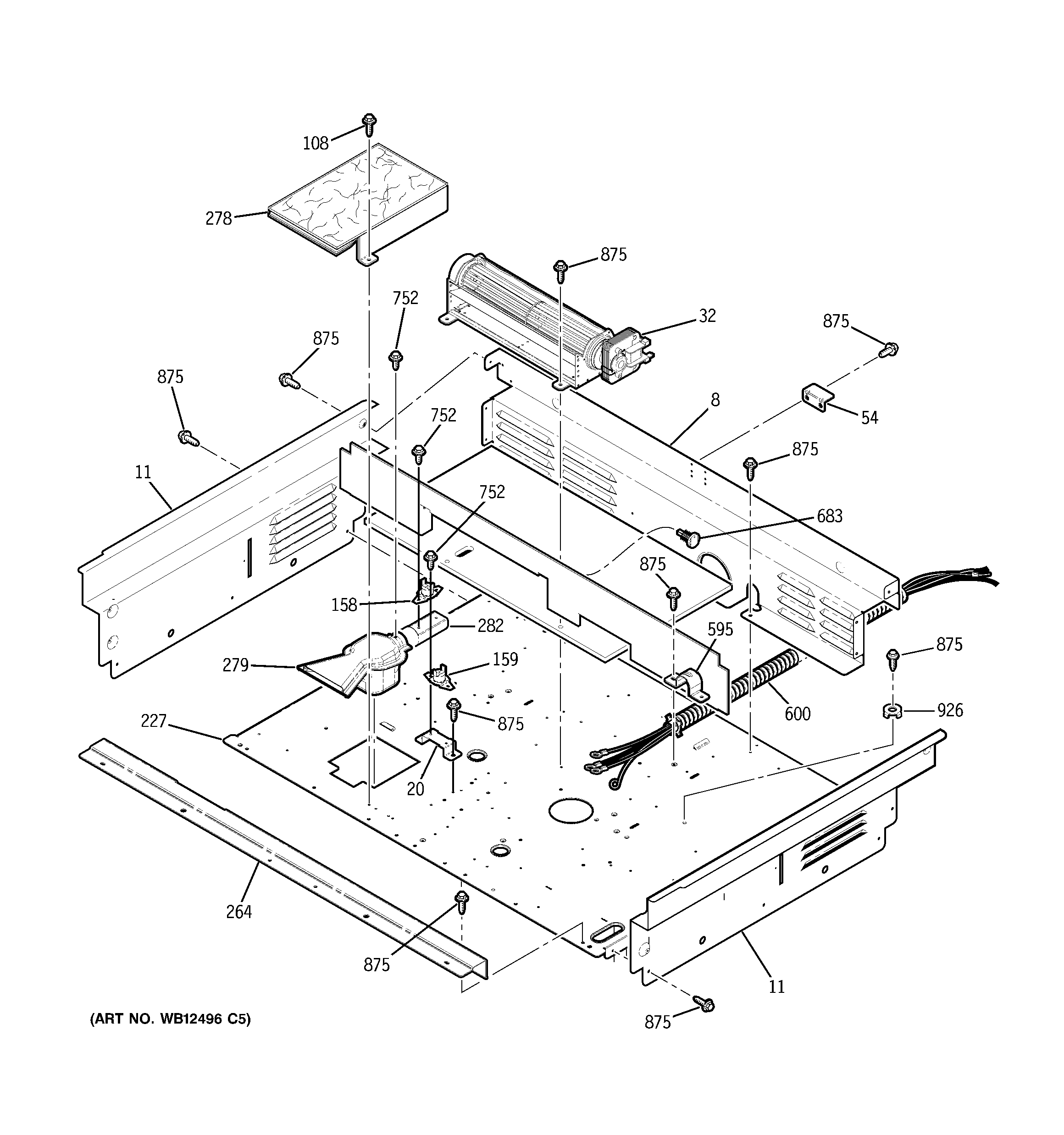
JD900WK2WW COOLING FAN