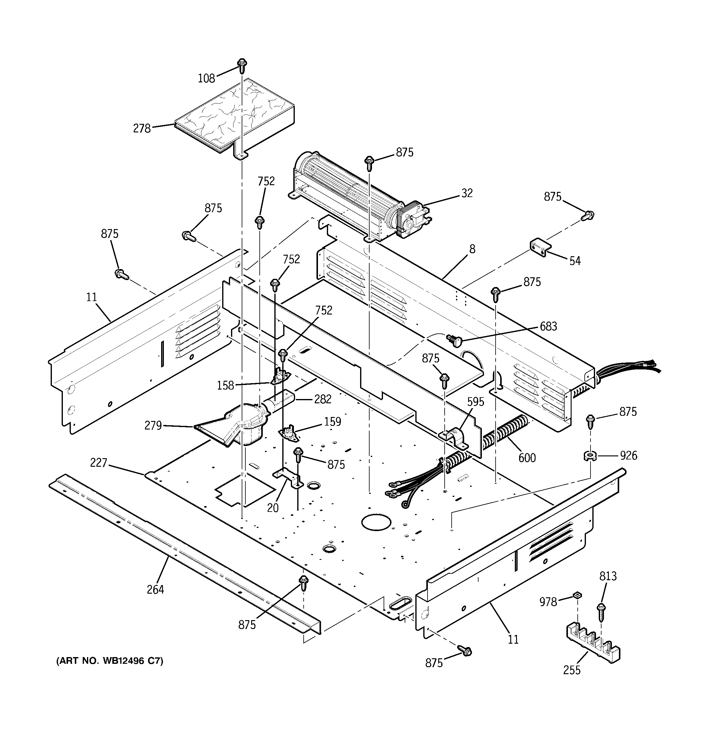
JD968BK5BB COOLING FAN