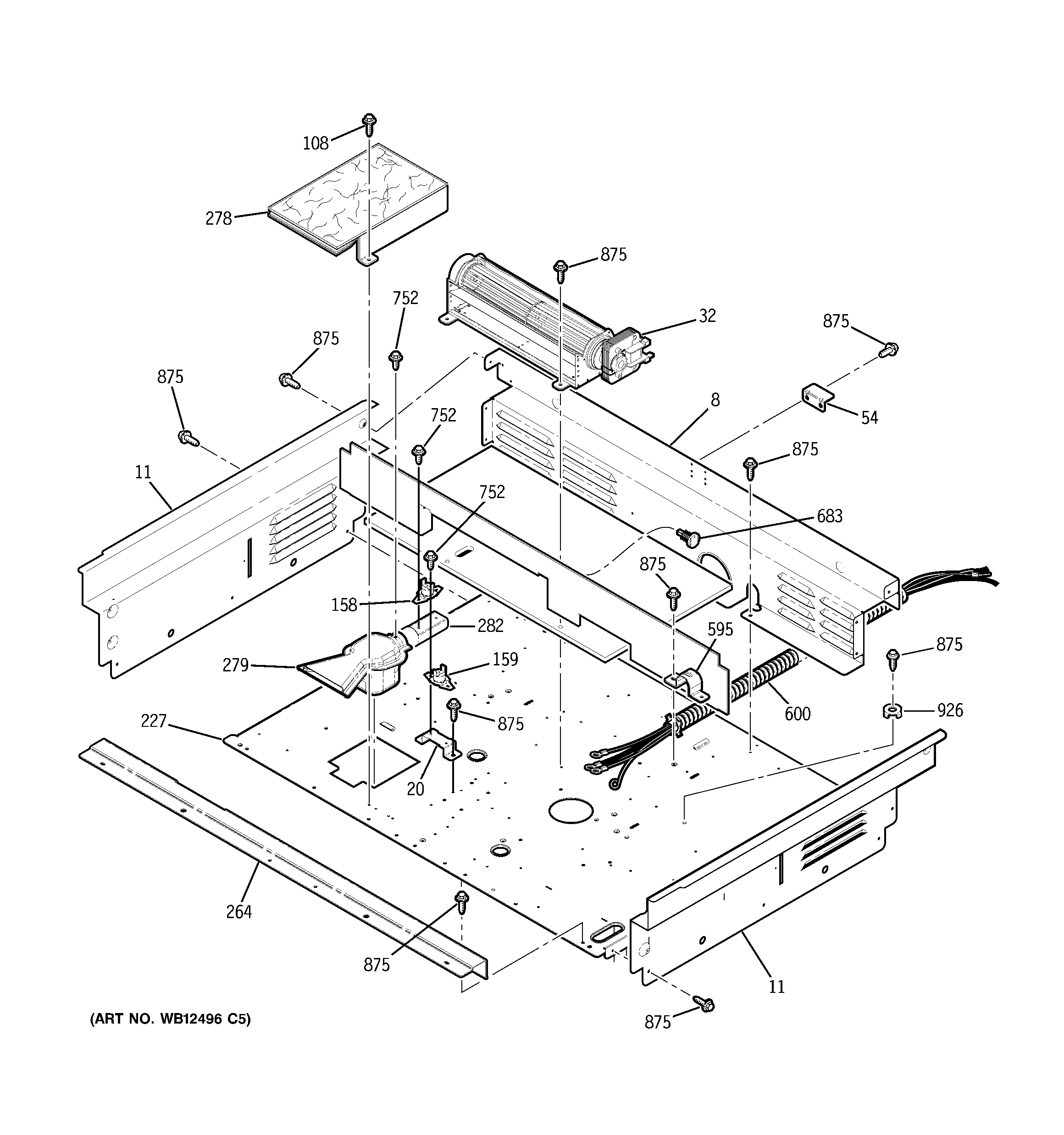
JD968KK2CC COOLING FAN