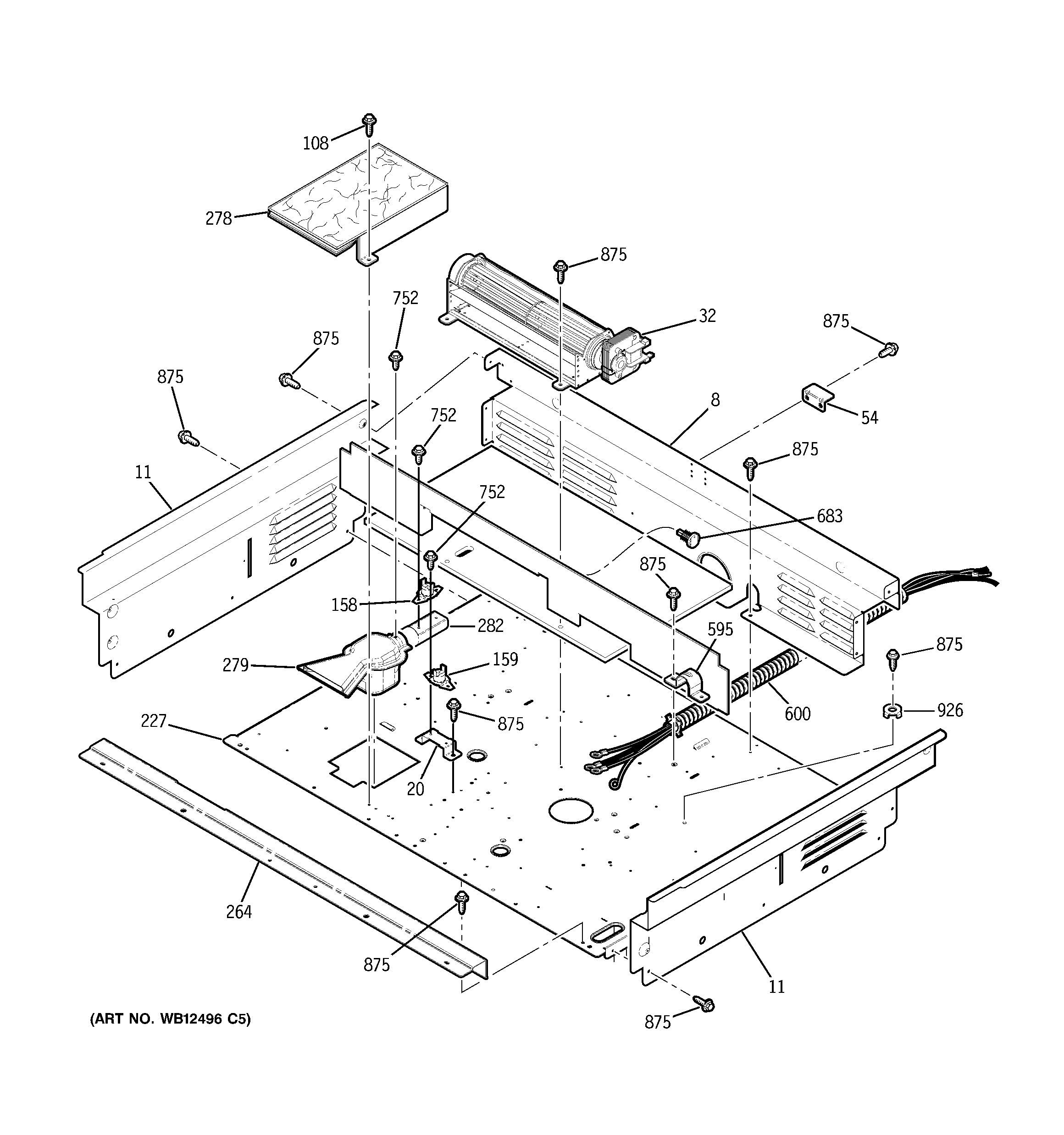
JD968TF4WW COOLING FAN