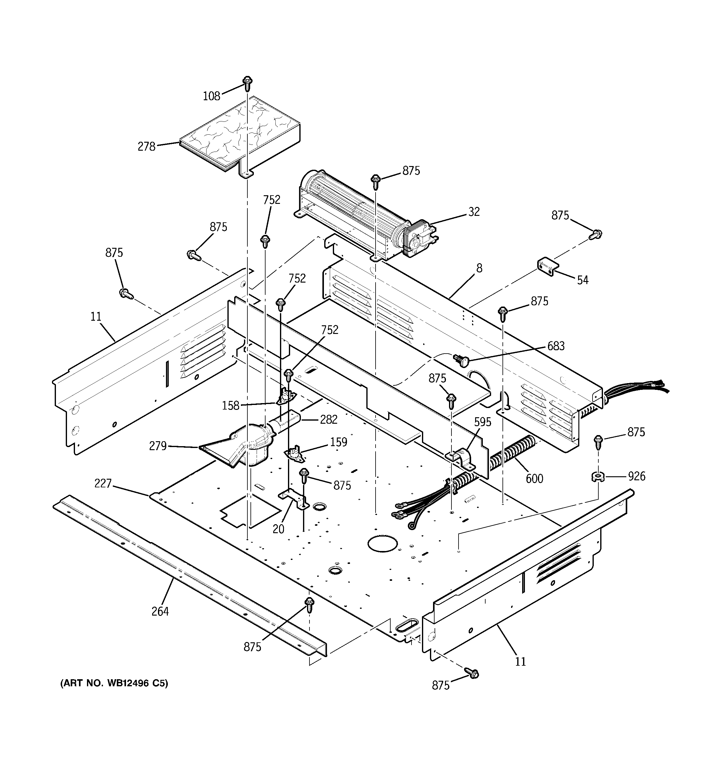
JD968TK2WW COOLING FAN