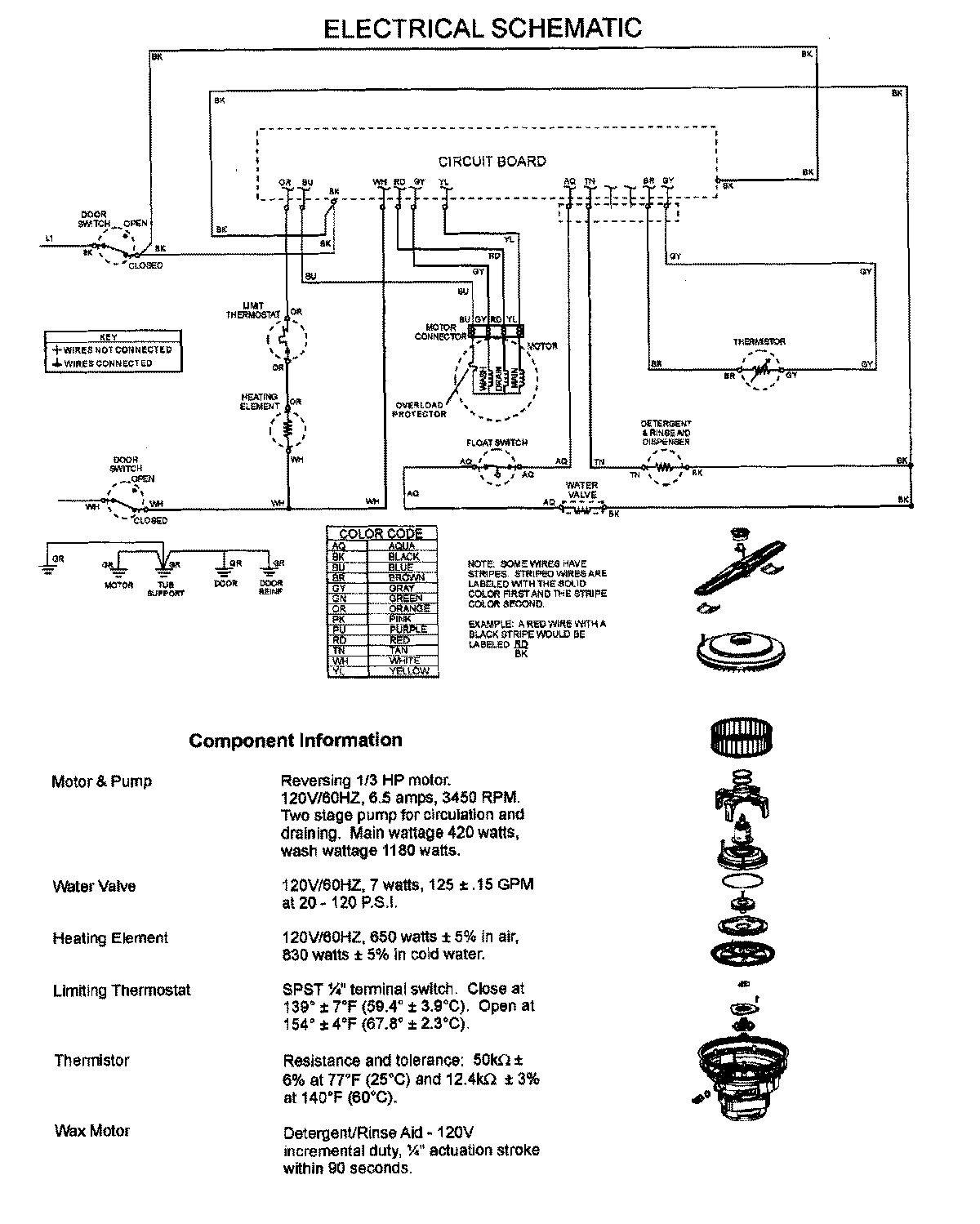
JDB3610BWX 08 – WIRING INFORMATIONadmin2025-04-26T09:43:45+00:00JDB3610BWX 08 – WIRING INFORMATION ProductsPositionProductNIMAY 15003680