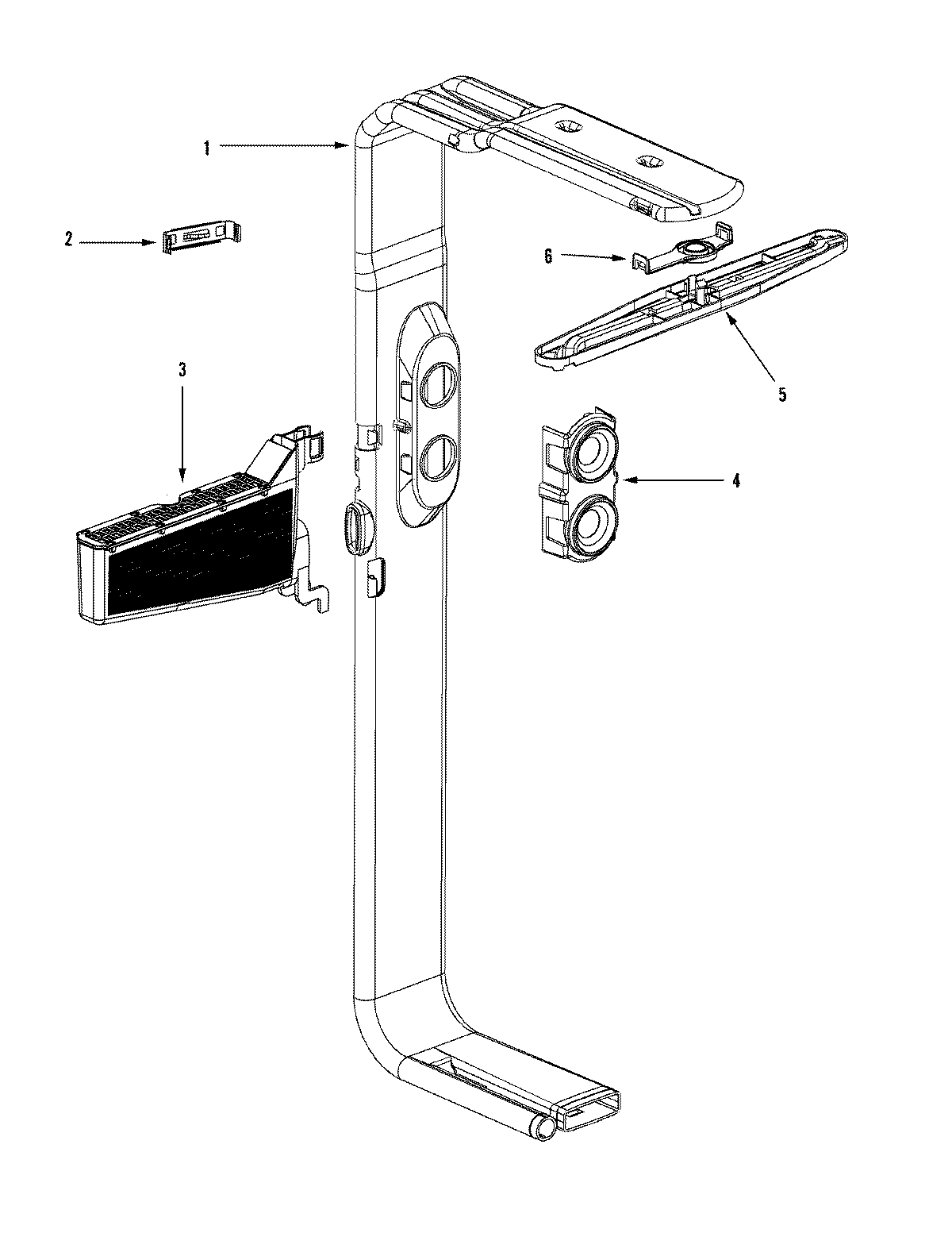
JDB4000AWB 07 – WATER DISTRIBUTION ASSEMBLY