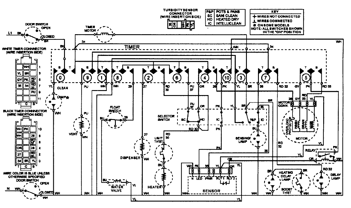
JDB6900AWB 07 – WIRING INFORMATIONadmin2025-04-26T09:43:54+00:00JDB6900AWB 07 – WIRING INFORMATION ProductsPositionProductNIMAY 15002453