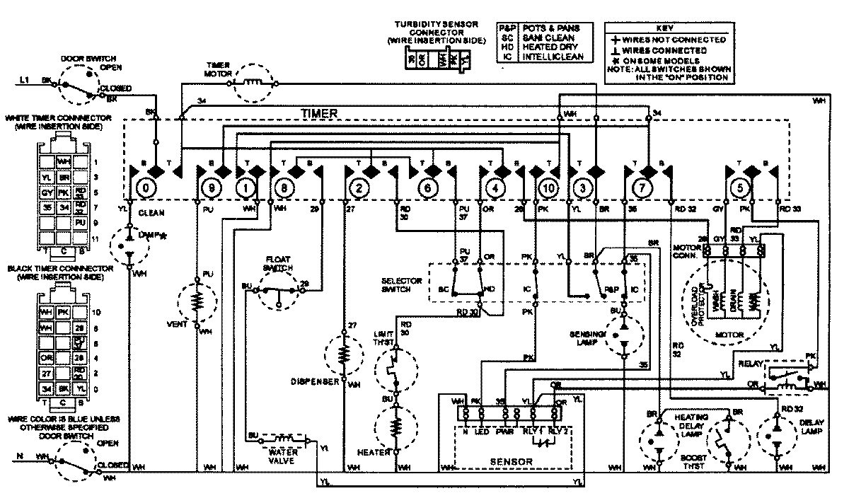
JDB6900AWW 07 – WIRING INFORMATIONadmin2025-04-26T09:44:45+00:00JDB6900AWW 07 – WIRING INFORMATION ProductsPositionProductNIMAY 15002453