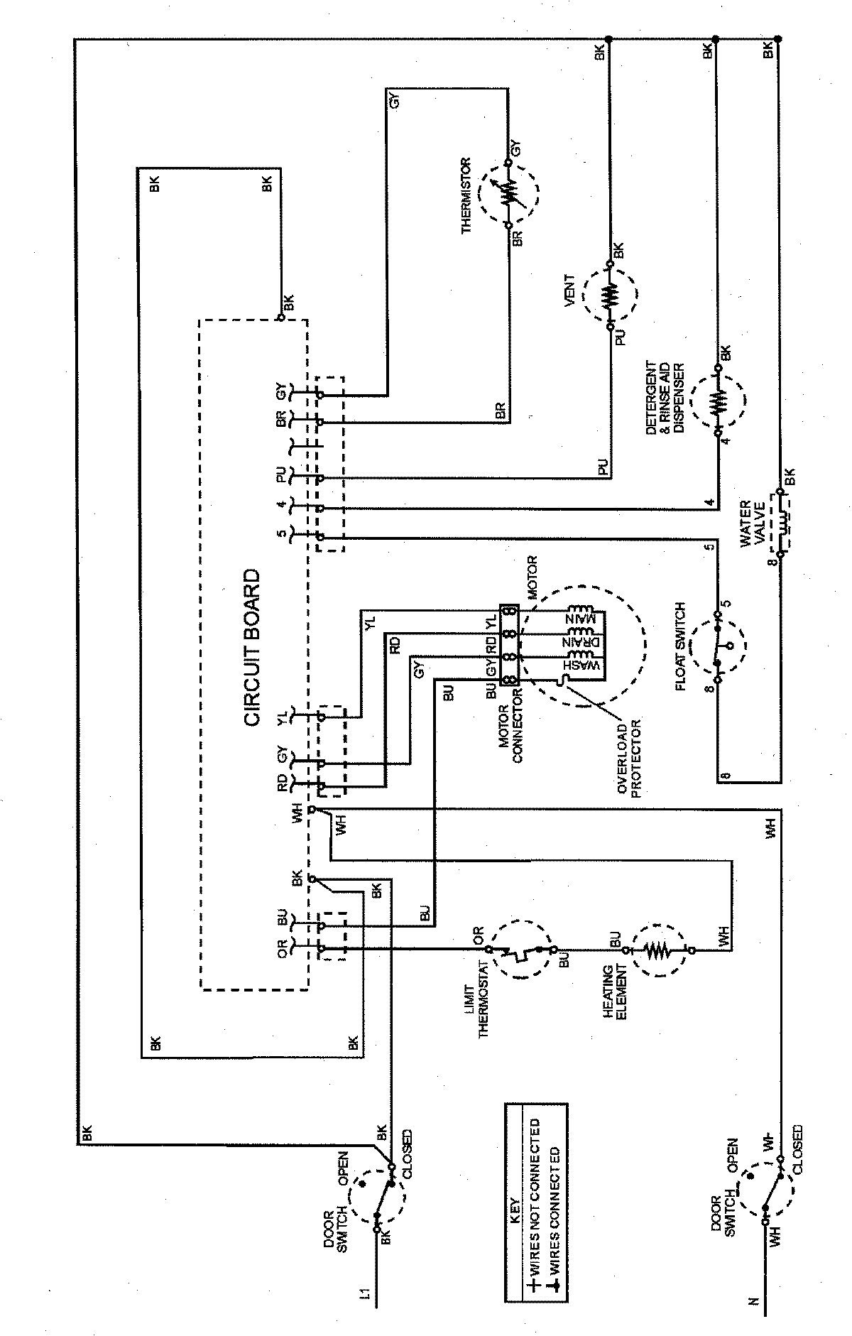
JDB7910AWB 07 – WIRING INFORMATIONadmin2025-04-26T09:44:02+00:00JDB7910AWB 07 – WIRING INFORMATION ProductsPositionProductNIMAY 15002714NIMAY 15002798NIMAY 15002860