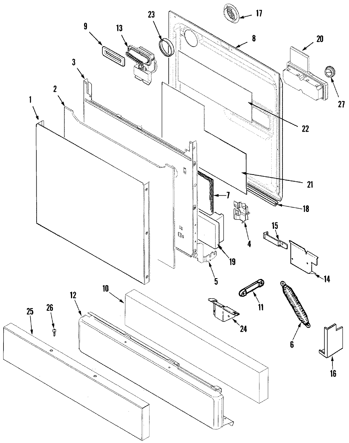
JDB8910AWB 02 – DOOR