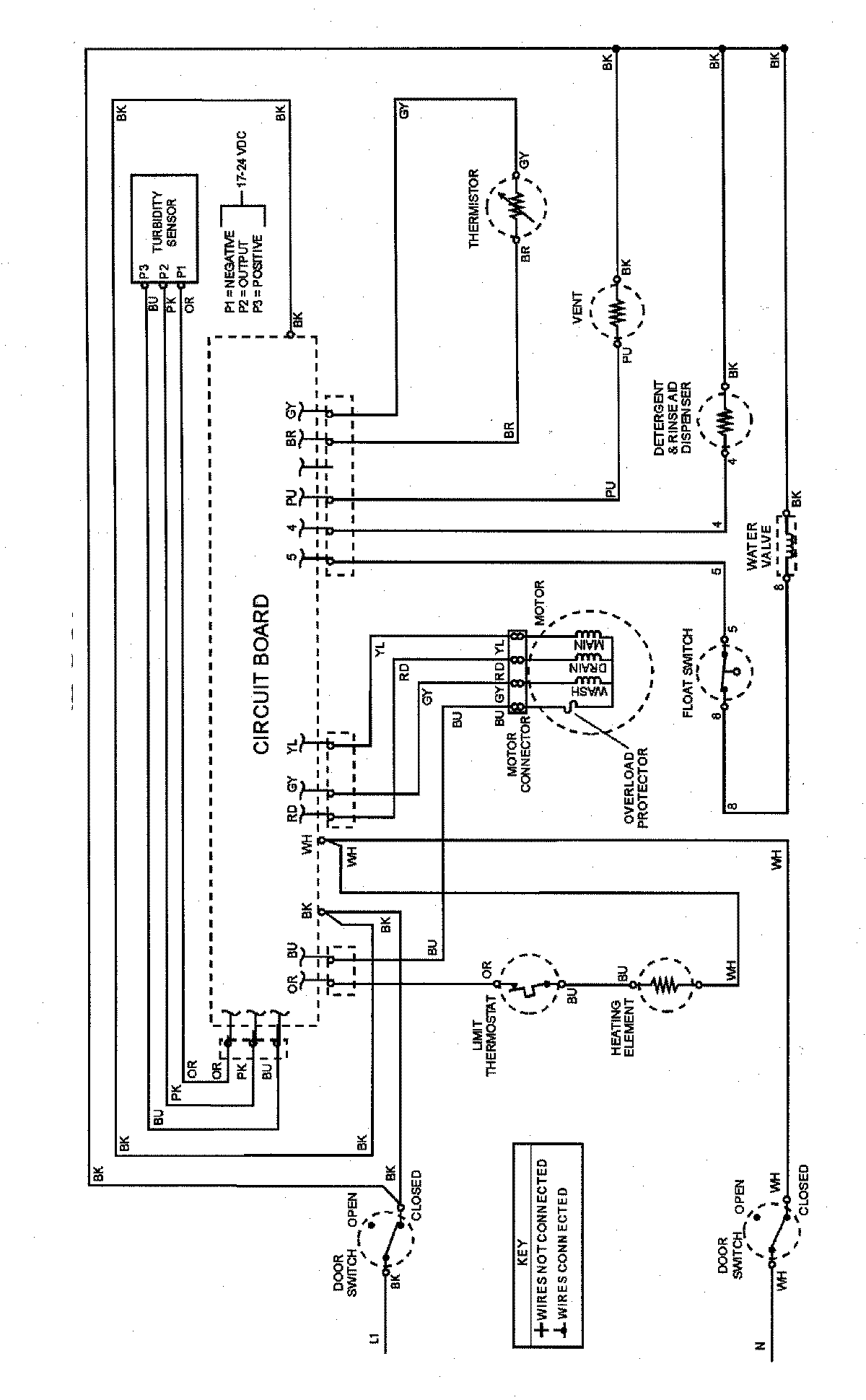
JDB8910AWB 07 – WIRING INFORMATIONadmin2025-04-26T09:44:16+00:00JDB8910AWB 07 – WIRING INFORMATION ProductsPositionProductNIMAY 15002715NIMAY 15002797NIMAY 15002858