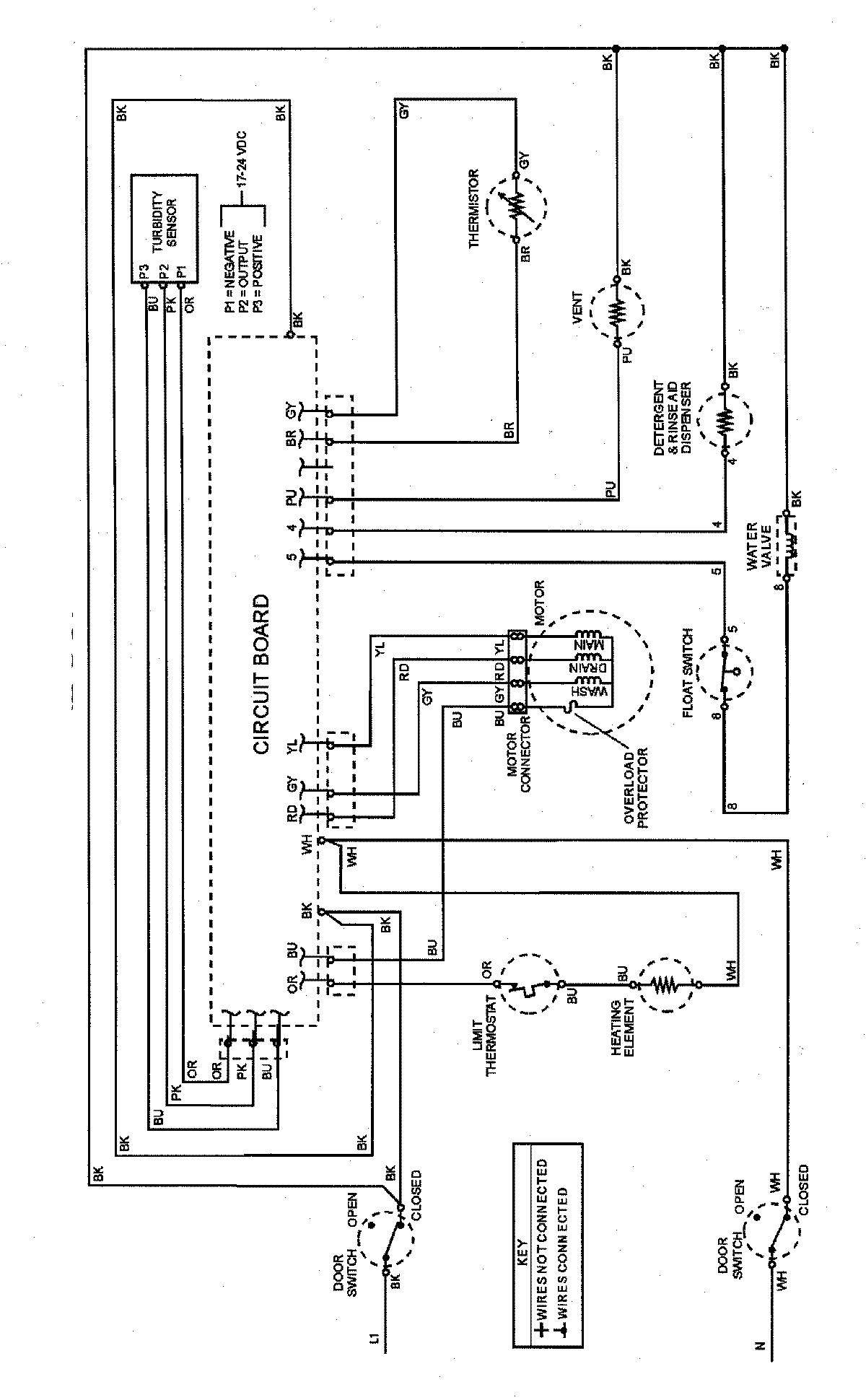
JDB8910AWW 07 – WIRING INFORMATIONadmin2025-04-26T09:47:14+00:00JDB8910AWW 07 – WIRING INFORMATION ProductsPositionProductNIMAY 15002715NIMAY 15002797NIMAY 15002858