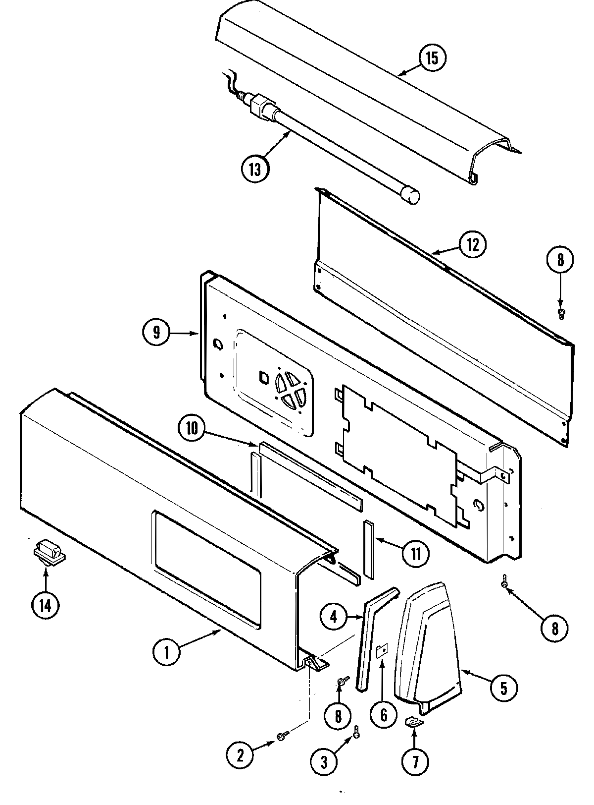
JDE3000A 02 – CONTROL PANELadmin2025-04-26T09:43:46+00:00JDE3000A 02 – CONTROL PANEL ProductsPositionProduct1MAY 25-77601MAY 310012122MAY 25-76494MAY 210012484MAY 210012475MAY 210010705MAY 210010696MAY 25-77027MAY 25-78518WP90767 Whirlpool Screw9MAY 310012169MAY 35-354010MAY 35-345011MAY 35-345312MAY 25-345712MAY 35-268813MAY 25-789813MAY 2100126013MAY 210012561474008765 Whirlpool Range Oven Rocker Switch Bisque15MAY 2100124417MAY 3100105017MAY 3100121718MAY 16000326