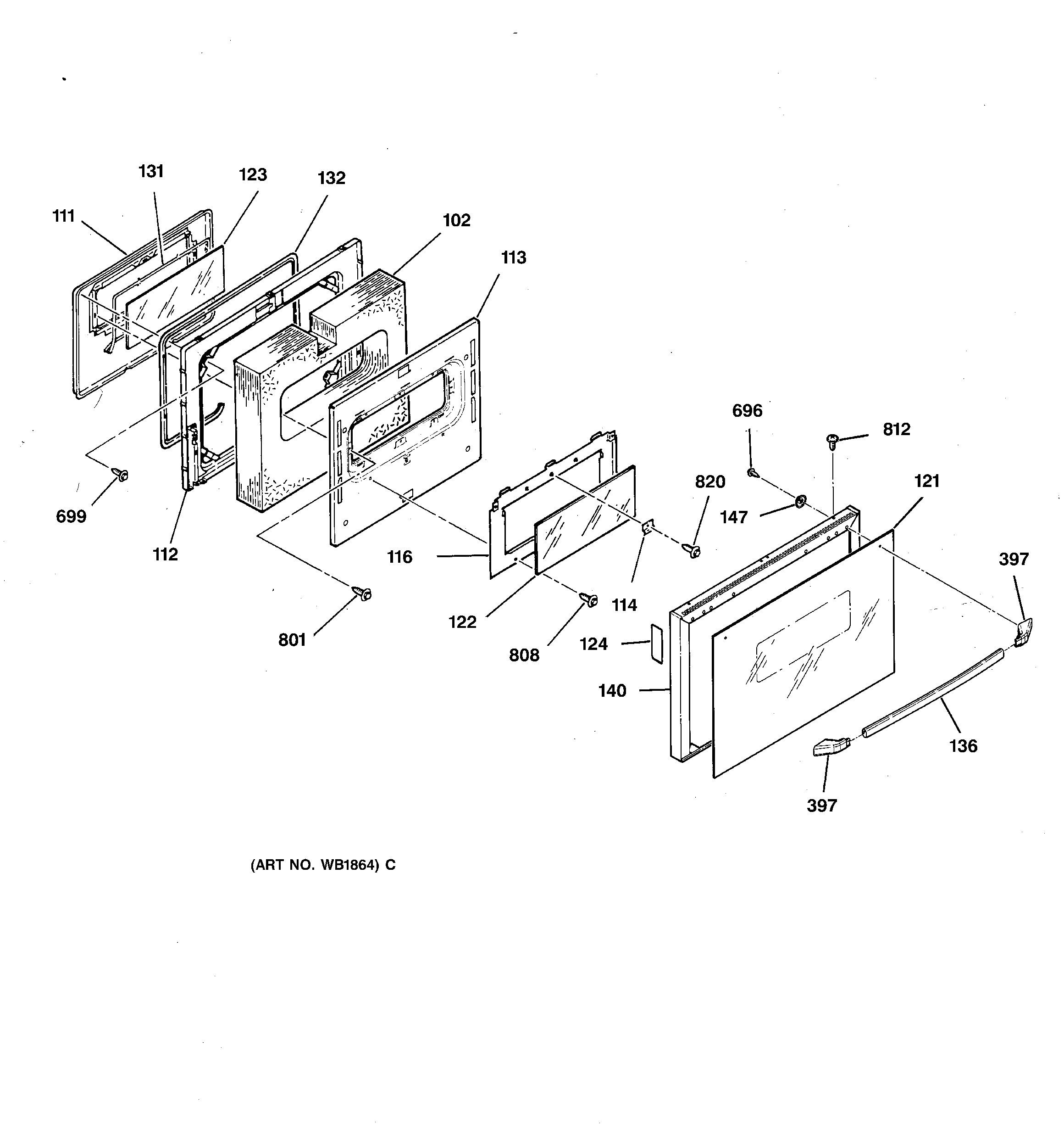
JDP36BW1AD DOOR