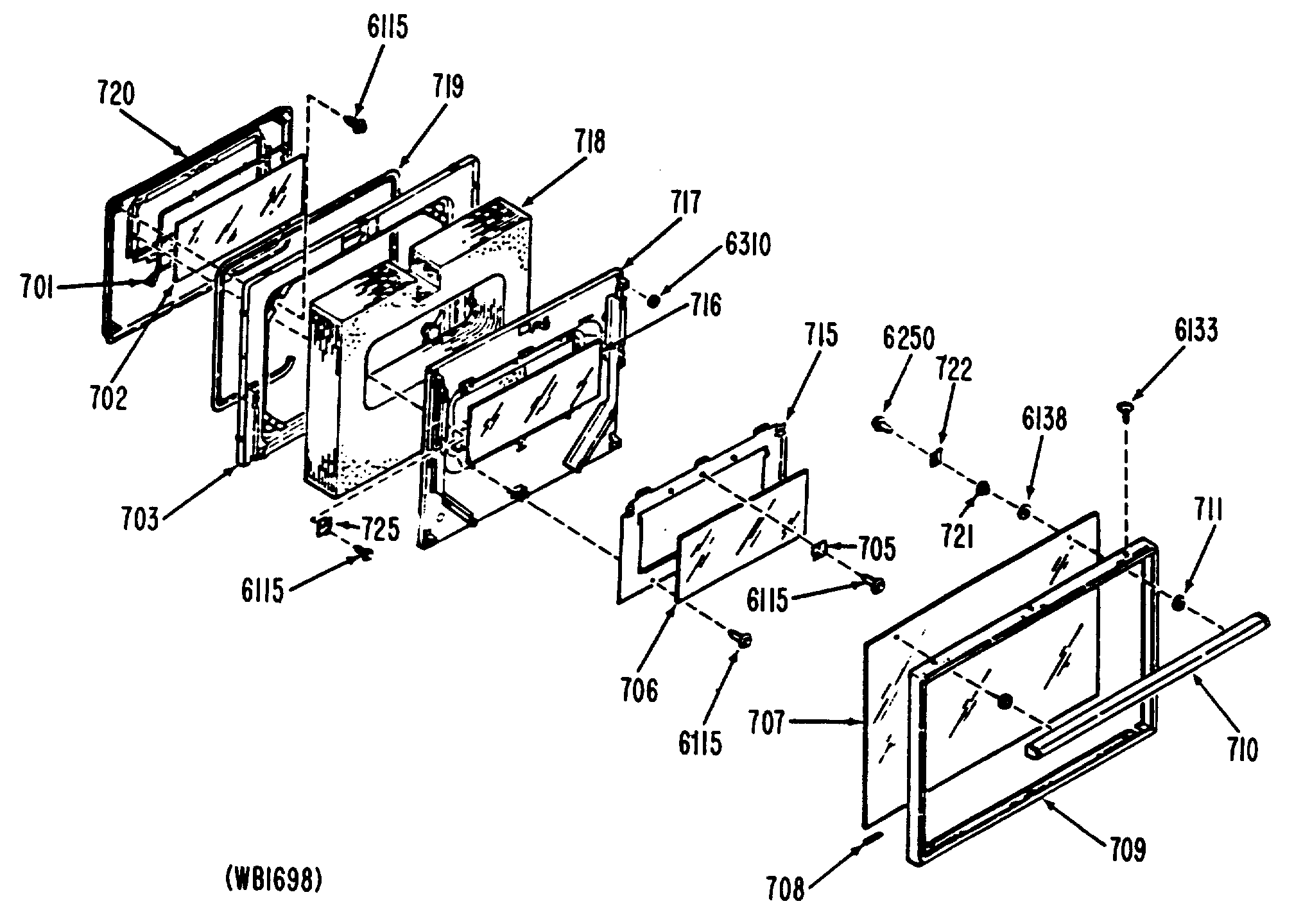
JDP37GL3 4