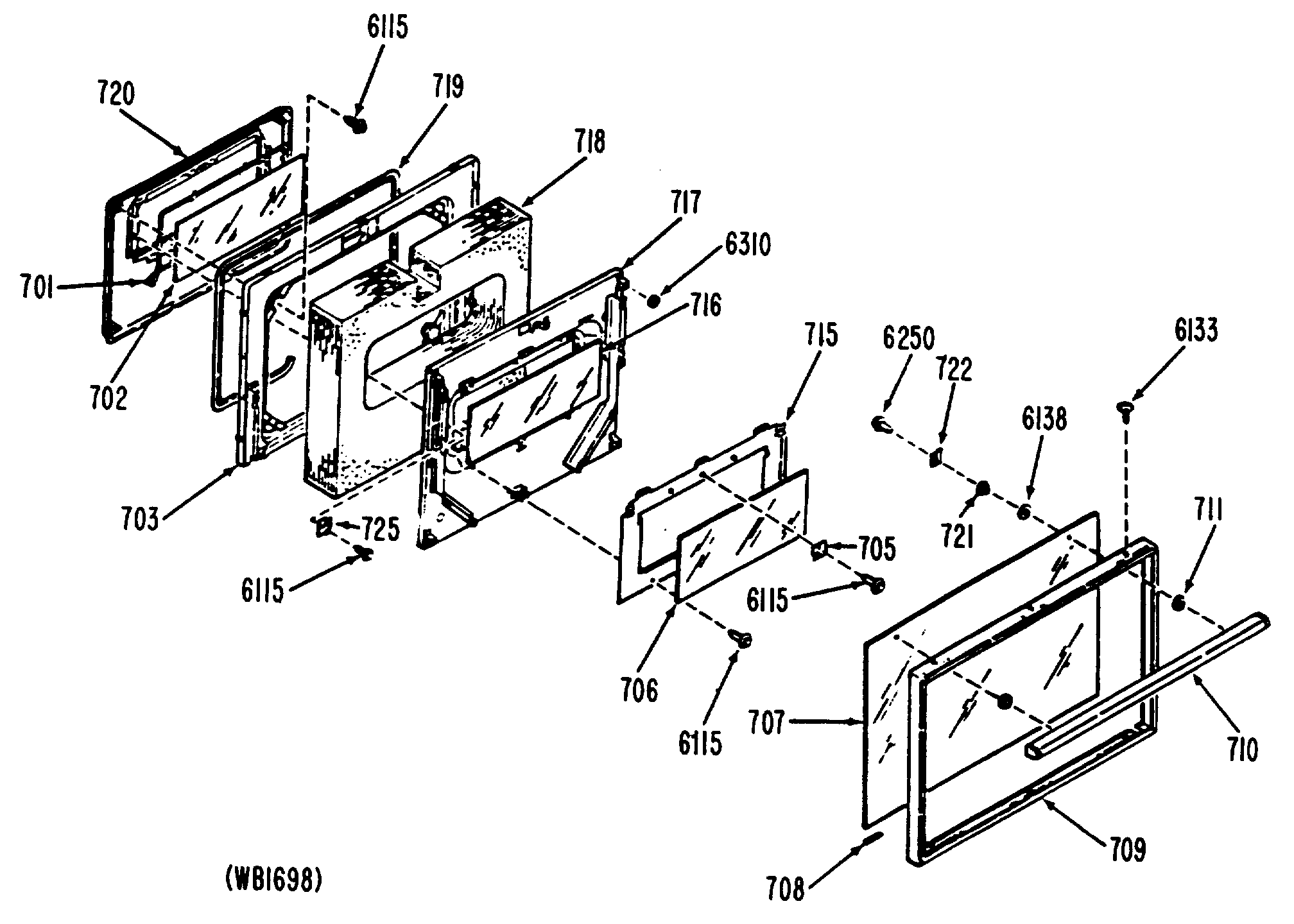
JDP37GL4 4