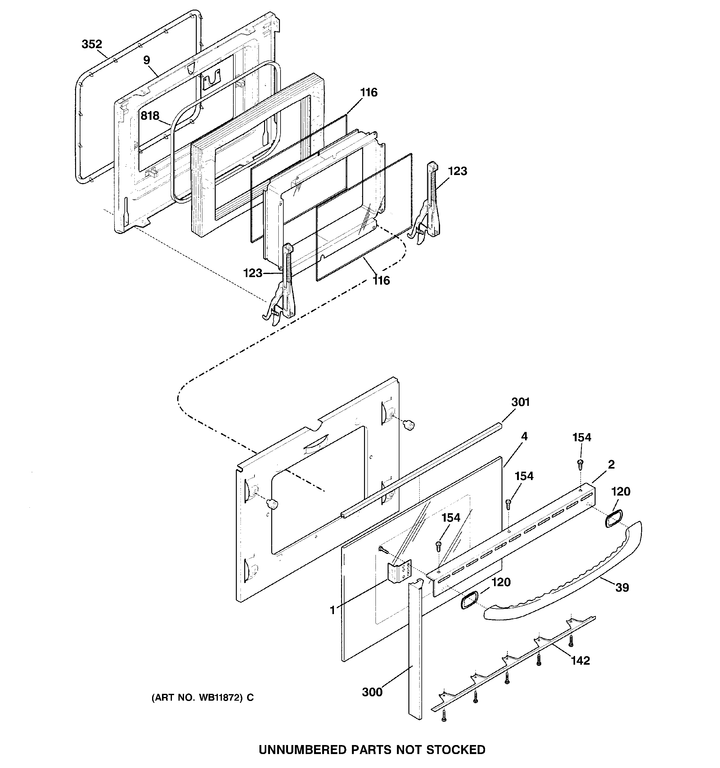
JDP40BB1BB DOORadmin2025-04-26T12:15:22+00:00JDP40BB1BB DOOR ProductsPositionProduct1GEN WB02X106312GEN WB07X106954GEN WB36X101409GEN WB55X1030239GEN WB15X5227116GEN WB36X10138120GEN WB02X10637123GEN WB10X10024142GEN WB07X10305154GEN WB01X10095300GEN WB07X10307301GEN WB07X10277352GEN WB02X10605818GEN WB02X10632