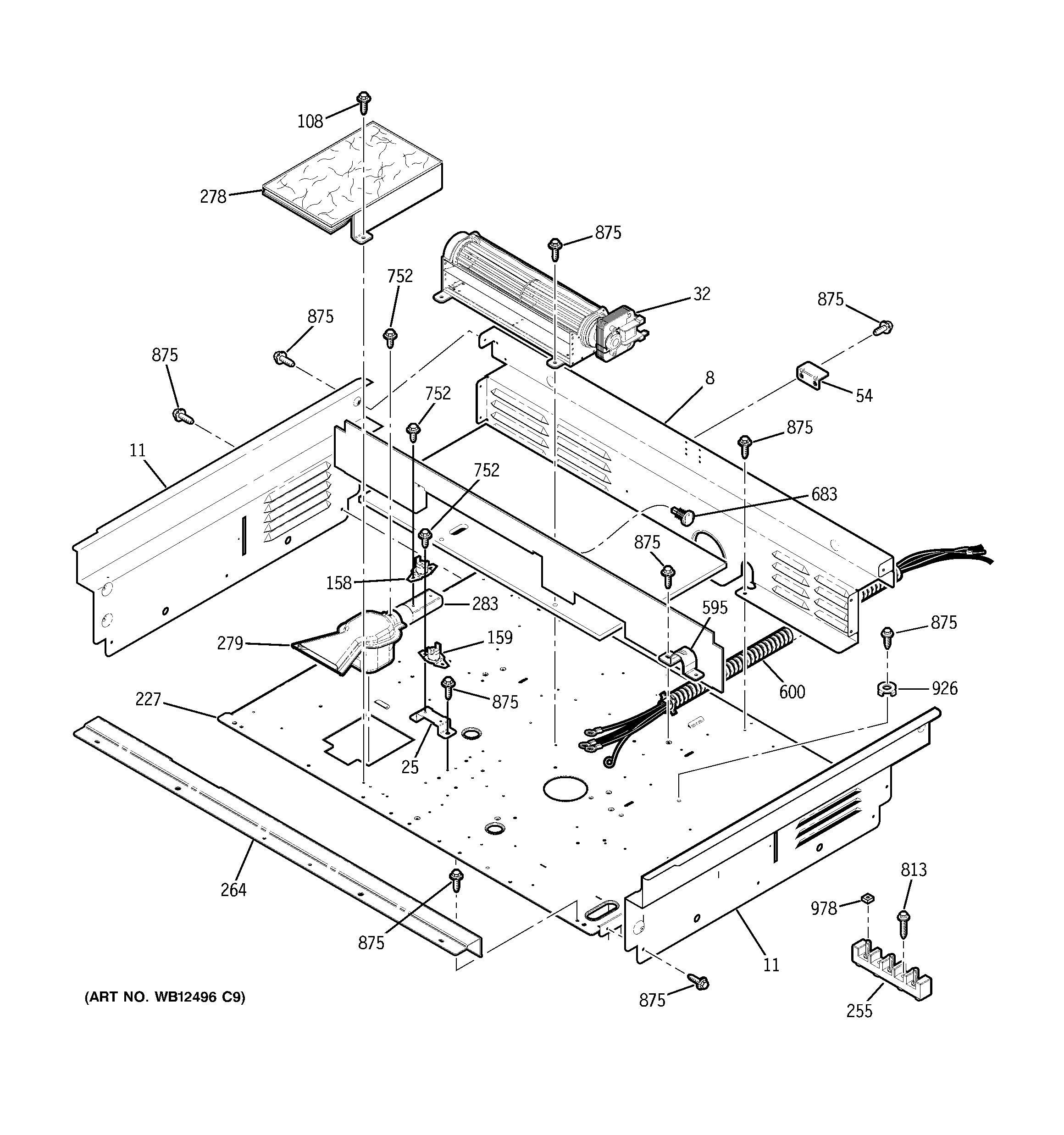
JDP42DT1WW COOLING FAN