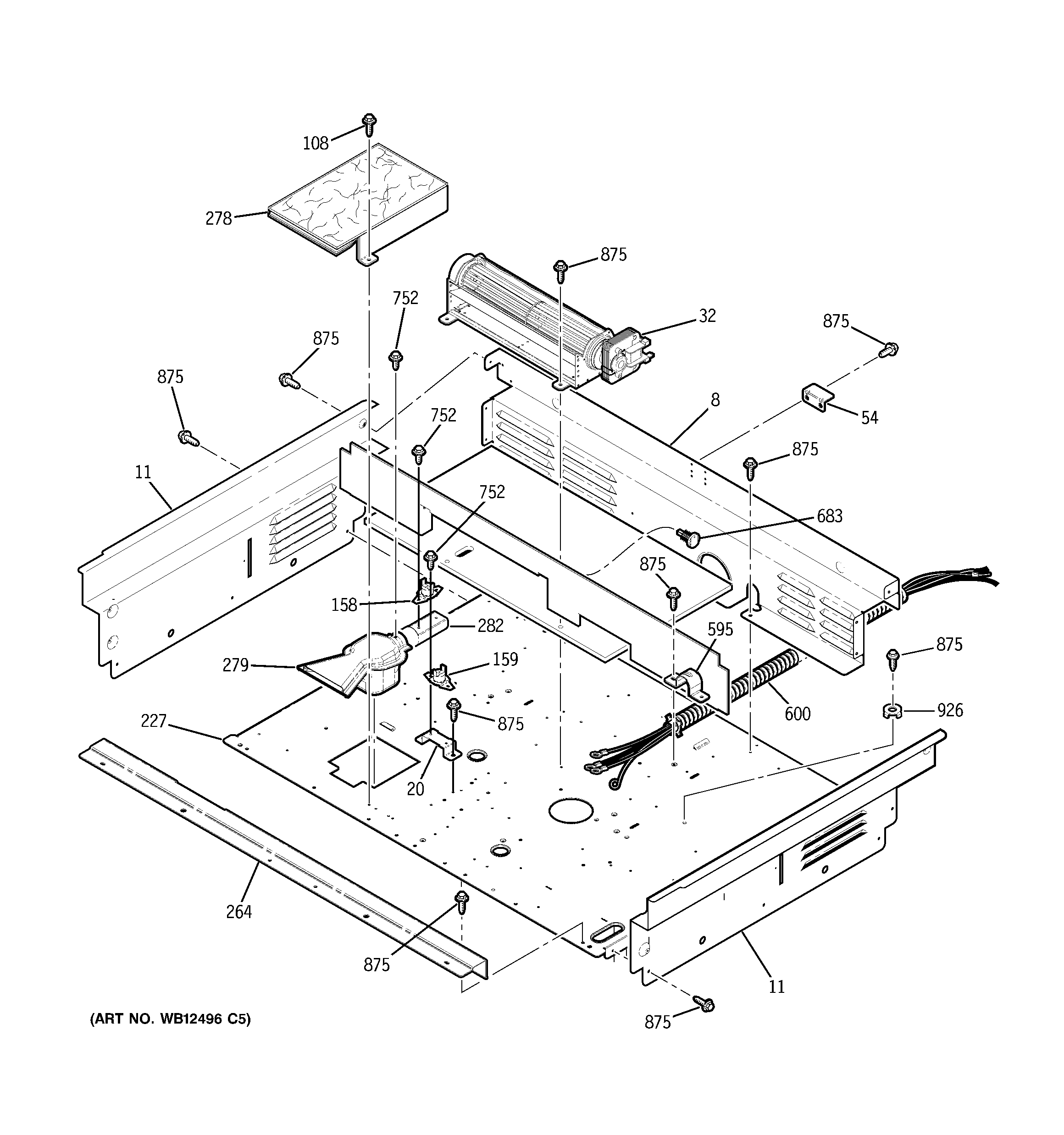
JDP47CF4CC COOLING FAN