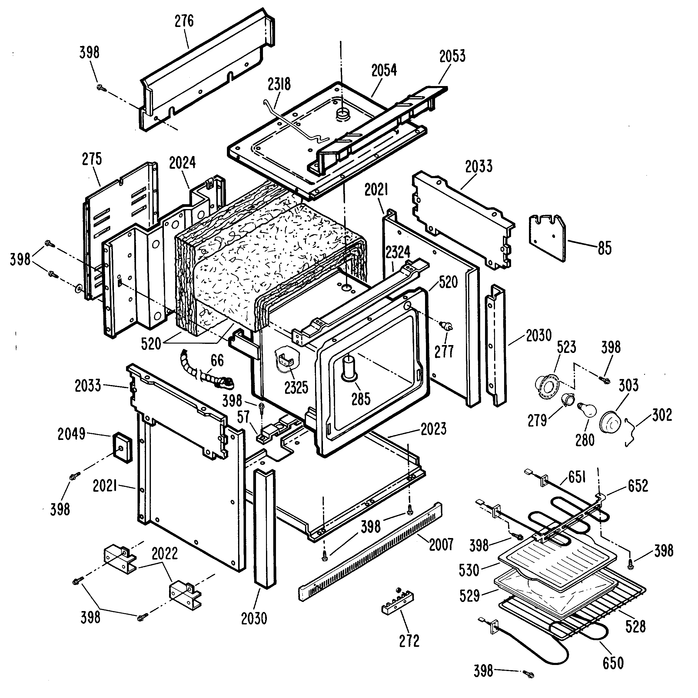
| 57 | GEN WB02X4012 |
| 66 | CONDUIT & WIRES |
| 272 | GEN WB02X7446 |
| 275 | GEN WB49X5351 |
| 276 | GEN WB49X0498 |
| 277 | GEN WB24X5204 |
| 279 | RECEPT LAMP |
| 280 | RANGE ONLY 40W 120V APPL BULB |
| 285 | GEN WB02X4006 |
| 302 | BAIL, LAMP SM OV |
| 303 | LENS-OVEN LAMP |
| 398 | GEN WB01X5706 |
| 520 | GEN WB53X0265 |
| 520 | GEN WB02X7421 |
| 523 | HOUSING-OVEN LIGHT |
| 528 | GEN WB48X5074 |
| 530 | WB48X10056 GE Broil Pan Set, Large Porcelain |
| 650 | WB44X5089 GE Oven Bake Unit |
| 651 | GEN WB44X5090 |
| 652 | GEN WB02X7482 |
| 2007 | GRILLE BTM |
| 2021 | GEN WB49X0501 |
| 2022 | BRACKET SUPPORT L.H. |
| 2022 | BRACKET SUPPORT R.H. |
| 2024 | GEN WB49X0497 |
| 2030 | GEN WB07X1338 |
| 2033 | GEN WB56X1659 |
| 2049 | GEN WB02X4021 |
| 2053 | SHEILD WIRE |
| 2054 | GEN WB49X0499 |
| 2318 | GEN WB02X7436 |
| 2324 | GEN WB02X4013 |
| 2325 | GEN WB02X7444 |