| 29 | GEN WB03X0804 |
| 51 | GEN WB62X1709 |
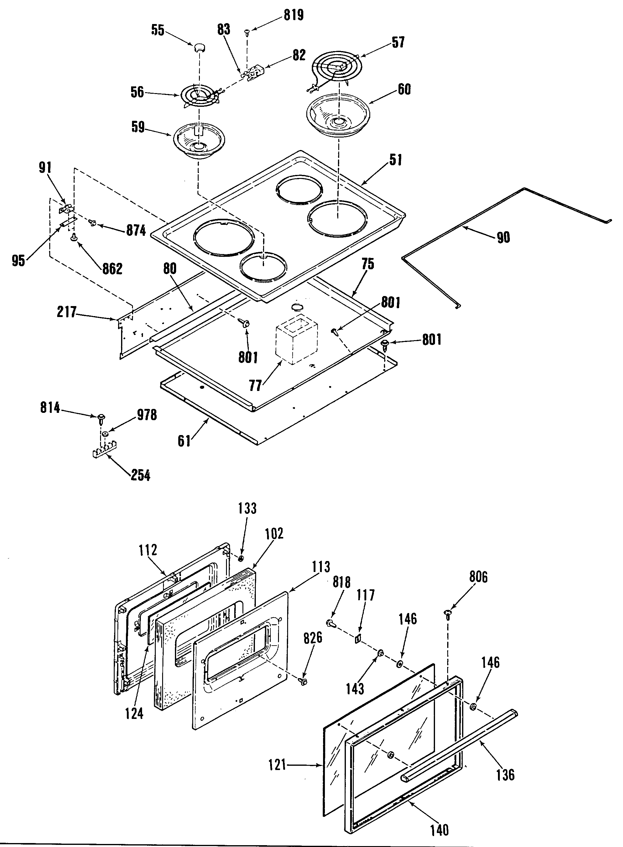
| 55 | GEN WB04X0122 |
| 56 | WB30X256 GE Oven Surface Unit 6 Inch |
| 57 | WB30X255 GE Oven Surface Unit 8 Inch |
| 59 | WB31M1 GE Oven 6" Universal Chrome Bowl |
| 60 | WB32X106 GE Oven 8" Chrome Drip Bowl |
| 61 | GEN WB64M0009 |
| 75 | BURNER BOX TOP |
| 77 | GEN WB02X9895 |
| 80 | GEN WB02X9570 |
| 82 | WB17X210 GE Oven Range Cooktop Burner Receptacle Block Kit |
| 83 | WB17X211 GE Oven Terminal Clip Black |
| 90 | GEN WB02X9571 |
| 91 | GEN WB14X0136 |
| 95 | HINGE MTG BRACKET |
| 102 | UNKNOWN |
| 112 | OV DR LINING |
| 113 | INSULATION RETAINER |
| 117 | OV DR GLASS RETAINER |
| 121 | WB56X1902 GE Oven Outer Glass |
| 124 | OVEN DOOR GLASS-CENTER |
| 133 | FELT WASHER |
| 136 | OV DOOR HANDLE |
| 140 | UNKNOWN |
| 143 | UNKNOWN |
| 146 | DOOR HANDLE SPACER-BLACK |
| 147 | FIBER WASHER |
| 202 | GEN WB63X0423 |
| 217 | WIRE COVER UPPER |
| 254 | GEN WB17X0215 |
| 806 | SCREW-BRT. NI. |
| 814 | WB1X1258 GE Oven Screw |
| 818 | GEN WB01X1250 |
| 819 | WB1X1118 GE Oven Screw 6-32T |
| 826 | GEN WB01X1167 |
| 862 | GEN WB01X1178 |
| 874 | UNKNOWN |
| 978 | WB1X1259 GE Hex Nut |
| 999 | GEN 31-0718 |
| 999 | GEN WB18M0059 |
| 999 | GEN WB18M0058 |
| 999 | GEN 31-0832 |
| 999 | GEN 49-4969 |
| 999 | GEN WB18M0057 |