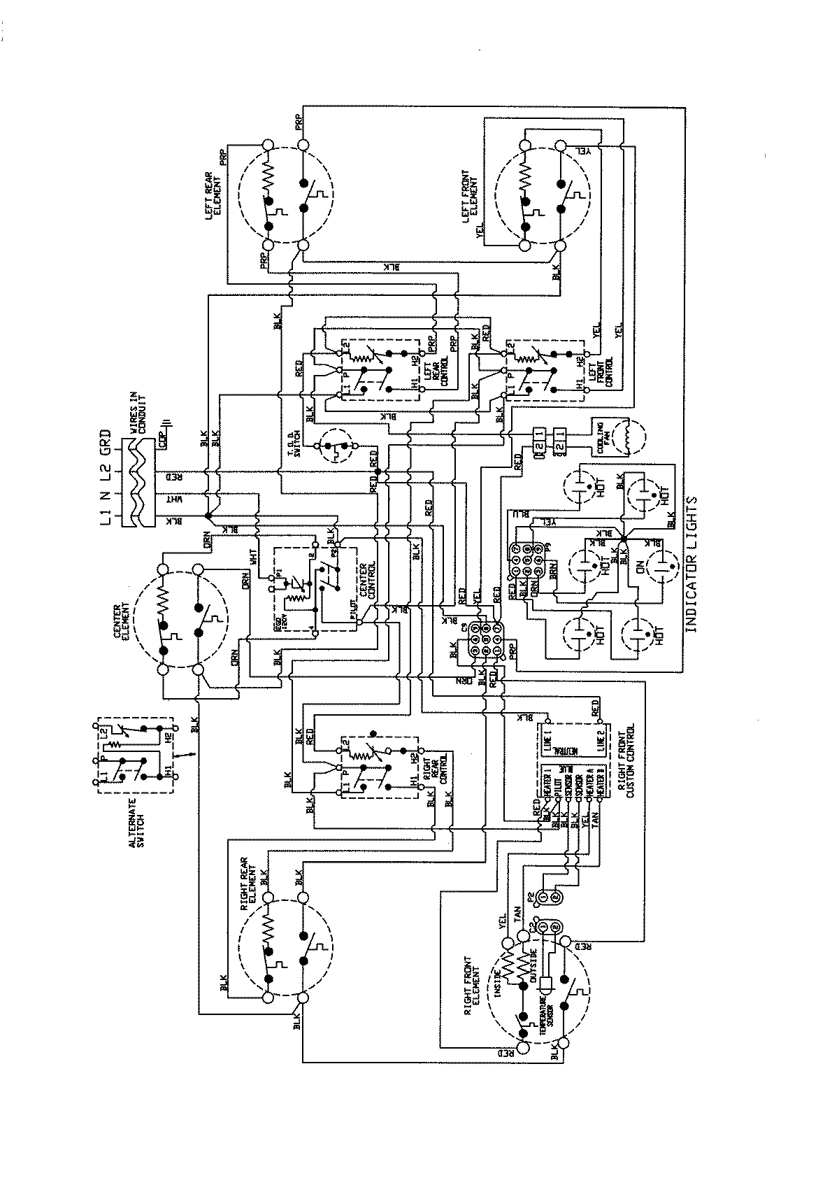
JEC9530BDF 04 – WIRING INFORMATIONadmin2025-04-26T09:26:26+00:00JEC9530BDF 04 – WIRING INFORMATION ProductsPositionProductNIMAY 8119P379-60