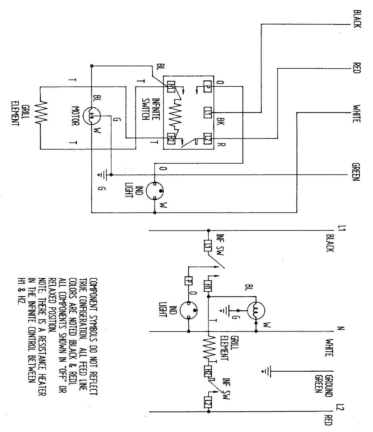
JED7430AAB 04 – WIRING INFORMATIONadmin2025-04-26T09:28:22+00:00JED7430AAB 04 – WIRING INFORMATION ProductsPositionProductNIMAY 15002030