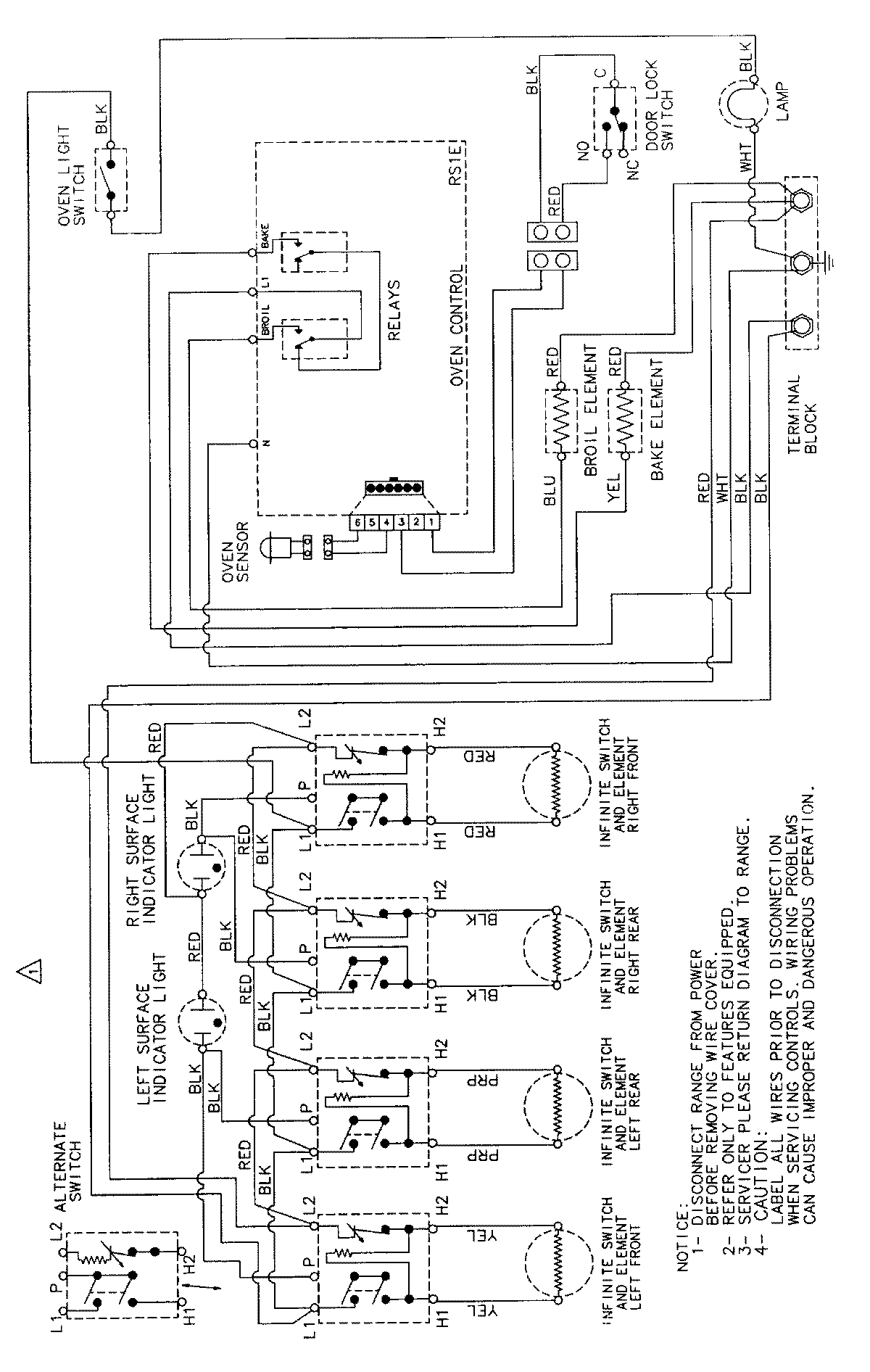
JER8530AAQ 06 – WIRING INFORMATIONadmin2025-04-26T09:31:05+00:00JER8530AAQ 06 – WIRING INFORMATION ProductsPositionProductNIMAY 15002263