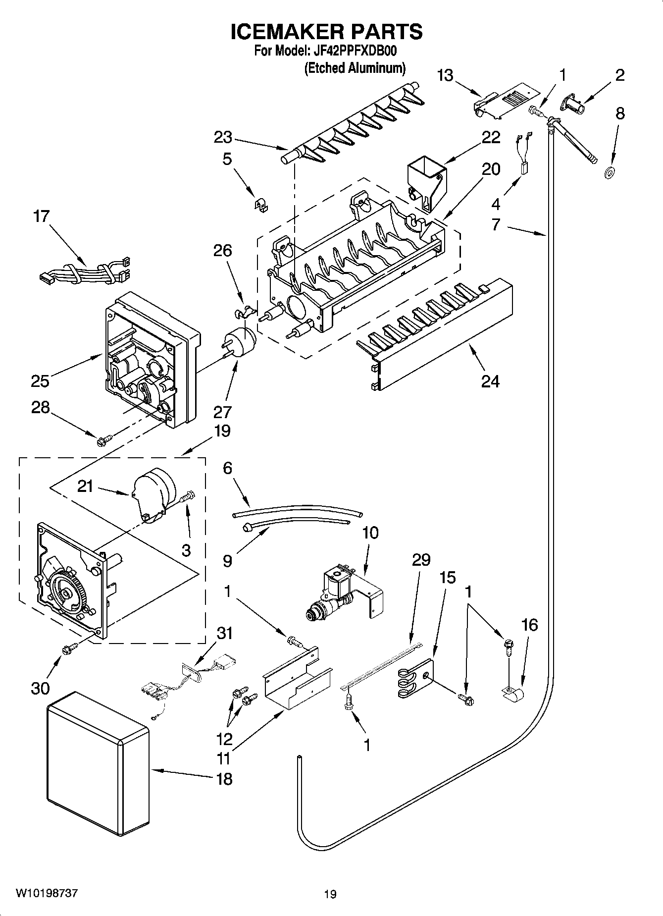
JF42PPFXDB00 11 – ICEMAKER PARTSadmin2025-04-26T09:27:02+00:00JF42PPFXDB00 11 – ICEMAKER PARTS ProductsPositionProductNIMAY 85370551SCREW2MAY 22212403MAY 4891364Jumper, Fill Tube Heater5Clip6MAY W101743957MAY 23178488Seal9MAY 231791210MAY 230765011MAY W1012965312Screw (3)13MAY 222123115Clip, Tube16Clamp, Tubing17Wire Assembly, Icemaker18MAY 225753819Module Assembly (Includes Items 23 and 24)20MAY W1012252721MAY 62668322Cup, Fill23MAY 62784324MAY 218212425Support & Motor Assembly26MAY 231552227Thermostat (Also Order 542369 Cement Alumilastic)28MAY 853391729MAY 232055930MAY 48927631MAY W10139195100MAY W10190971